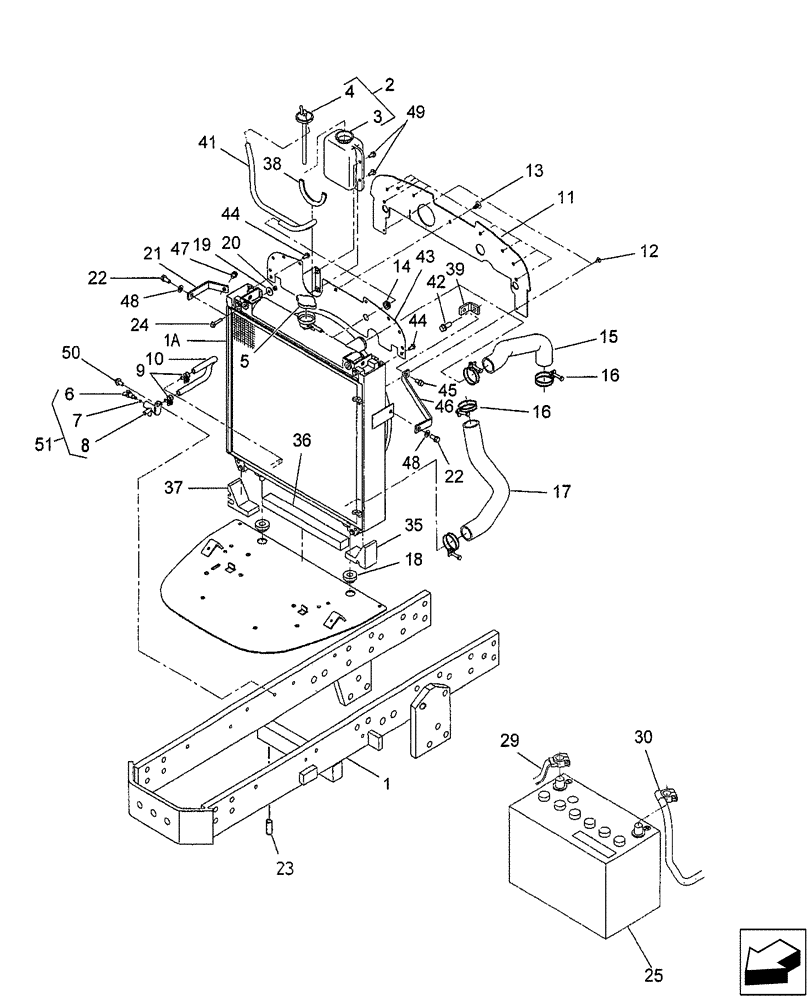
Запчасти Case IH FARMALL 55 (02.01) - RADIATOR & BATTERY (02) - ENGINE EQUIPMENT

Схема запчастей Case IH FARMALL 55 - (02.01) - RADIATOR & BATTERY (02) - ENGINE EQUIPMENT
2
51
48
35
46
3
9
30
8
50
22
36
7
6
44
18
45
1a
13
17
21
12
44
16
23
1
4
38
19
10
49
25
37
47
29
24
20
22
48
11
39
15
42
16
43
5
41
14
FIT
1:1
100%

Артикул

Название

Примечание

Количество

1

SBA330012150

SUPPORT

Front Axle

1шт.

1a

SBA310101201

RADIATOR

Refer to Fig. 02.01.01 for Breakdown

1шт.

2

SBA310550110

TANK

1шт.

3

SBA310560050

RESERVOIR

1шт.

3

SBA310560050

RESERVOIR

Tank

1шт.

4

SBA310110190

CAP COVER

1шт.

5

SBA310110230

CAP COVER

1шт.

6

SBA310130270

DRAIN PLUG

1шт.

7

SBA052100040

O-RING

1шт.

8

SBA310750060

DRAINCOCK/TAP SUPPLY

1шт.

9

SBA067100015

HOSE CLAMP

2шт.

10

SBA360770160

RIGID TUBE

Fuel

1шт.

11

SBA398122340

RUBBER SEAL

1шт.

12

SBA398340340

CLIP

2шт.

13

SBA398340350

CLIP

9шт.

14

SBA398113730

SUPPORT

1шт.

15

SBA310161830

HOSE

Radiator

1шт.

16

SBA067100043

BAND

Hose

1шт.

17

SBA310161890

HOSE

Radiator

1шт.

18

SBA398119670

RUBBER BUSHING

2шт.

19

SBA026109009

WASHER

1шт.

20

SBA022400006

NUT

M6

1шт.

21

SBA310311470

BRACKET, SUPPORTING

Right

1шт.

22

SBA011510820

CAPTIVE WASHER SCREW,Hex, M8 x 20, G5

2шт.

23

SBA030501025

BALL STUD,M10 x 25 L

BALL PIN

2шт.

24

SBA010800630

BOLT

M6 x 30

1шт.

25

B2772W

WET BATTERY

United States

1шт.

25

CB2772W

WET BATTERY

Canada

1шт.

26

SBA389320140

ROD

Battery

2шт.

29

SBA385650450

CABLE

1шт.

30

SBA385650800

CABLE

1шт.

35

SBA398136250

SEAL

Left

1шт.

36

SBA398136300

SEAL

1шт.

37

SBA398136260

SEAL

EHSS

1шт.

37

SBA398136310

SEAL

SSS

1шт.

38

SBA398121020

RUBBER

1шт.

39

SBA310311460

BRACKET, SUPPORTING

Left

1шт.

41

SBA310120290

RIGID TUBE

1шт.

42

SBA011511025

CAPTIVE WASHER SCREW,Hex, M10 x 25, G5

1шт.

43

SBA310353630

BAFFLE

Plate

1шт.

44

SBA010800612

BOLT

M6 x 12

2шт.

45

SBA011510816

BOLT

M8 x 16

1шт.

46

SBA310311450

BRACKET, SUPPORTING

Left

1шт.

46

SBA310311451

SUPPORT

Left

1шт.

47

SBA011510812

CAPTIVE WASHER SCREW,Hex, M8 x 12, G5

1шт.

48

SBA026100008

WASHER

M8

2шт.

49

SBA010800614

BOLT

M6 x 14

2шт.

50

SBA010800816

BOLT

M8 x 16

1шт.

51

SBA310130260

DRAINCOCK/TAP SUPPLY

1шт.

Выбрано товаров: 49