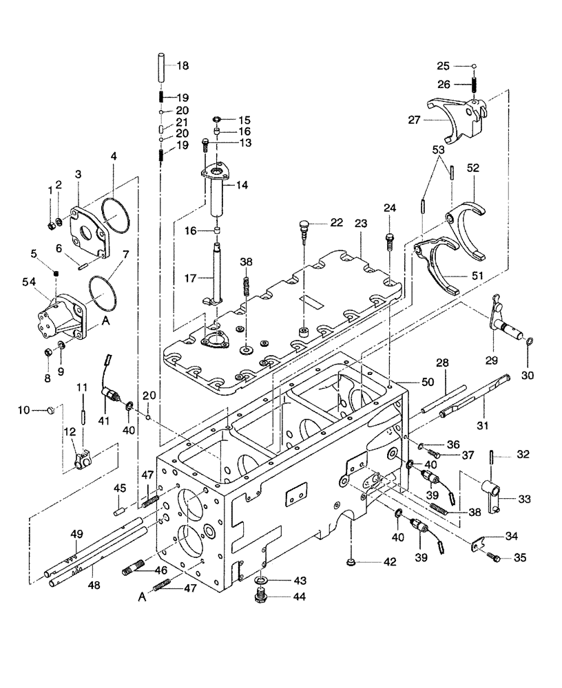
Запчасти Case IH FARMALL 55 (03.03) - FRONT TRANSMISSION & SHIFT - EHSS (03) - TRANSMISSION

Схема запчастей Case IH FARMALL 55 - (03.03) - FRONT TRANSMISSION & SHIFT - EHSS (03) - TRANSMISSION
28
38
10
11
30
15
29
5
16
52
14
20
1
34
2
53
6
4
36
33
31
24
37
45
40
16
40
54
44
22
20
20
47
26
41
12
48
38
9
39
19
18
50
21
47
8
23
27
39
42
3
17
40
49
25
43
46
32
35
51
13
7
19
FIT
1:1
100%

Артикул

Название

Примечание

Количество

1

SBA021000010

NUT

M10

3шт.

2

892-11010

LOCK WASHER,M10

4шт.

3

SBA320190650

HOLDER

1шт.

4

SBA052300850

O-RING

1шт.

5

SBA064409006

PLUG,1/8" NPT

2шт.

6

SBA030300625

PIN

Spring

1шт.

7

SBA052300850

O-RING

1шт.

8

SBA021000010

NUT

M10

3шт.

9

892-11010

LOCK WASHER,M10

4шт.

10

SBA322140960

PLUG,M16

1шт.

11

300868

ROLL PIN,6mm OD x 36mm L, Slotted

1шт.

12

SBA324320860

BOSS

Shifter

1шт.

13

SBA011510820

CAPTIVE WASHER SCREW,Hex, M8 x 20, G5

2шт.

14

SBA324010550

COVER

Lever

1шт.

15

SBA050301115

SEAL

Oil

1шт.

16

SBA398510310

BUSHING

2шт.

17

SBA324203021

ARM

Shift

1шт.

18

SBA399612121

PIN

1шт.

19

SBA398210460

SPRING

2шт.

20

V34014

BALL

Steel

2шт.

21

SBA324560040

PIN

1шт.

22

SBA398400570

DIPSTICK

1шт.

23

SBA322213750

COVER

1шт.

24

SBA011511030

CAPTIVE WASHER SCREW,Hex, M10 x 30, G5

12шт.

25

V34014

BALL

Steel

2шт.

26

SBA398210460

SPRING

2шт.

27

SBA324411813

SHIFTER FORK

1шт.

28

SBA324312290

ROD

Shifter

1шт.

29

SBA324203010

ARM

Shift

1шт.

30

SBA052100140

O-RING

1шт.

31

SBA385810190

SHAFT

1шт.

32

300868

ROLL PIN,6mm OD x 36mm L, Slotted

Spring

1шт.

33

SBA324107140

LEVER

Change

1шт.

34

SBA399564790

PLATE

1шт.

35

SBA011510816

BOLT

M8 x 16

3шт.

36

SBA025100008

SEALING WASHER,7.3mm ID x 14mm OD x 1.8mm Thk

M8

2шт.

37

SBA010109365

BOLT

1шт.

38

SBA012111025

BOLT

Stud

6шт.

39

SBA385202640

SWITCH

High & Low

2шт.

40

SBA025100014

SEALING WASHER,14.4mm ID x 21mm OD x 2mm Thk

3шт.

41

SBA385202630

SWITCH

Main

1шт.

42

SBA398460010

PLUG,M19

Blank

14шт.

43

SBA025100016

WASHER,16.4mm ID x 27mm OD x 2mm Thk

Seal

1шт.

44

SBA064600016

PLUG

M16

1шт.

45

SBA030501025

BALL STUD,M10 x 25 L

BALL PIN

2шт.

46

SBA012109258

BOLT

Stud

2шт.

47

SBA012111025

BOLT

Stud

6шт.

48

SBA324313300

ROD

Shifter

1шт.

49

SBA324313200

ROD

Shifter

1шт.

50

SBA322118321

CASE

Transmission

1шт.

51

SBA324412750

SHIFTER FORK

1шт.

52

SBA324412600

SHIFTER FORK

1шт.

53

300868

ROLL PIN,6mm OD x 36mm L, Slotted

1шт.

54

SBA320190640

HOLDER

1шт.

Выбрано товаров: 54