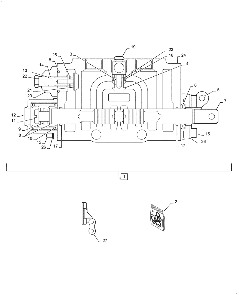
Запчасти Case IH FARMALL 55C (35.204.BE[01]) - REMOTE CONTROL VALVE, 3 POSITION (35) - HYDRAULIC SYSTEMS

Схема запчастей Case IH FARMALL 55C - (35.204.BE[01]) - REMOTE CONTROL VALVE, 3 POSITION (35) - HYDRAULIC SYSTEMS
17
6
7
19
27
18
15
22
23
3
16
9
10
2
11
24
14
8
25
21
20
1
13
26
15
4
12
26
17
5
FIT
1:1
100%

Артикул

Название

Примечание

Количество

1

84171320

CONTROL VALVE

3 Position Self Centering Valve, Incl 2 - 27

1шт.

2

87620847

SEAL KIT

Services 1

1шт.

3

5116884

SPRING,Compression, 6mm OD x 16mm L

1шт.

4

5116886

PIN,9.4mm OD x 10.5mm L

1шт.

5

5116887

SUPPORT

Remote Lever

1шт.

6

5116889

SCRAPER RING,15.6mm ID x 25.4mm OD x 4.8mm Thk

1шт.

7

5116890

ROD

Rod Distributor

1шт.

8

5116891

CUP,10.4mm ID x 27mm OD x 10mm Thk

Remote Valve

2шт.

9

5116892

SHIM,10.4mm ID x 16mm OD x 1.5mm Thk

1шт.

10

5116893

SPRING,Compression, 27mm OD x 43mm L

1шт.

11

5116894

SCREW,1/4" - 20 x 7/8"

1шт.

12

5116895

COVER

Remote Valve

1шт.

13

5120771

WASHER,6.73mm ID x 9.43mm OD x 1.14mm Thk

1шт.

14

5120772

O-RING,1.78mm Thk x 6.75mm ID, 85 Duro

1.78 x 6.75

1шт.

15

5124338

HEX SOC SCREW,6.35mm OD x 19mm L

4шт.

16

5135732

O-RING,0.07" Thk x 0.426" ID, -13, Cl 7, 75 Duro

1шт.

17

5135734

O-RING,0.07" Thk x 0.614" ID, -16, Cl 5, 75 Duro

2шт.

18

5135739

O-RING,0.737" ID x 0.943" OD x 0.103"

1шт.

19

5135835

VALVE GUIDE,14.25mm OD x 28.5mm L

Valve Detent

1шт.

20

5136346

BODY,7/8" - 14

1шт.

21

5136347

PIN,3.8mm OD x 15mm L

1шт.

22

5136348

PIN,10mm OD x 37mm L

1шт.

23

5138508

BACK-UP RING,Back Up, 10mm ID x 12mm OD x 10mm Thk

1шт.

24

NSS

NOT SOLD SEPARAT

Remote Valve Body, Incl in 1

1шт.

25

11087876

CIRCLIP,M7

1шт.

26

11197774

BELLEVILLE WASHER,M6 Bolt Size x 12mm OD x 1.2mm Thk

4шт.

27

5116896

LINK,19.05mm Pitch

1шт.

Выбрано товаров: 27