Качественные детали и логистика
Оригинальные и аналоговые запчасти с доставкой по России, Казахстану и Беларуси
©2022 PartSell ООО "Система" ИНН 2463123282 ОГРН 1212400004838
Центральный офис: г. Красноярск, Академика Киренского, д.87, пом.4
Телефон: 8 (800) 777-65-74 Email: zakaz@partsell.ru
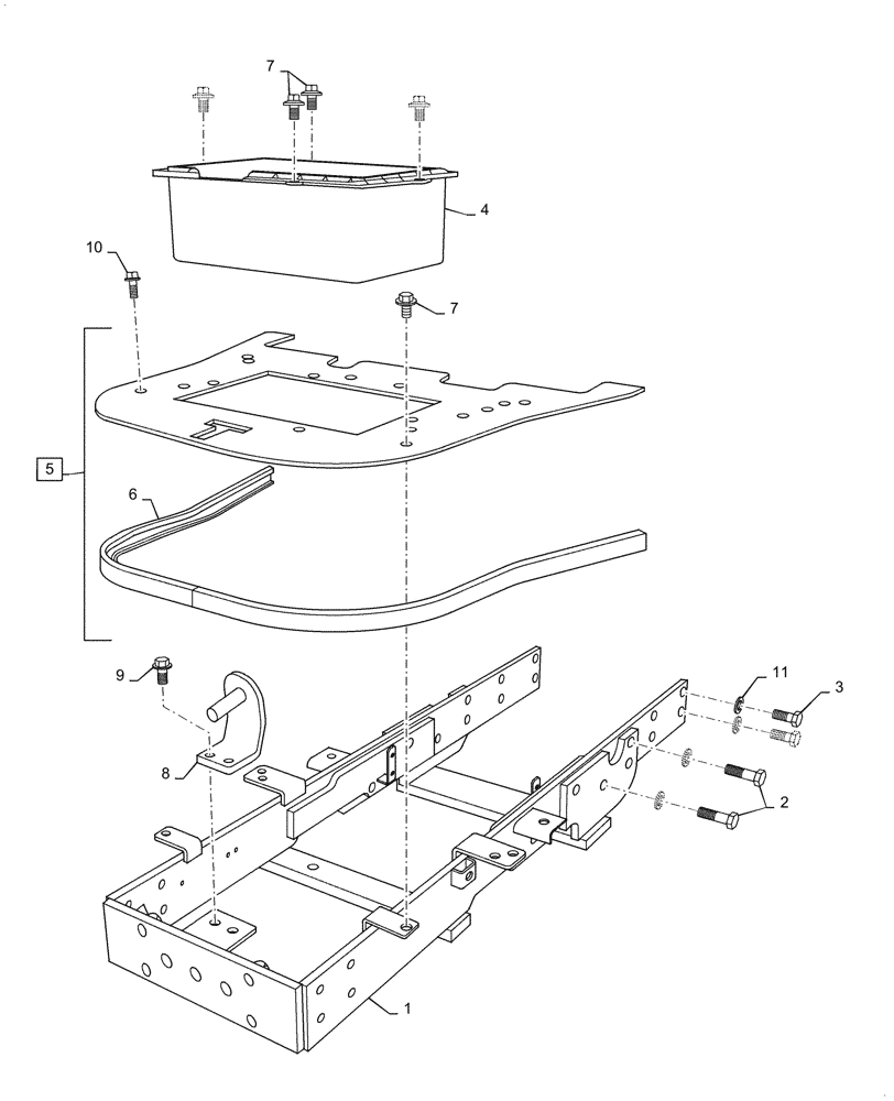
(10.001.030) - ENGINE, MAIN FRAME
№
Артикул
Название
Примечание
Количество
1
MT40345223
FRAME
1шт.
2
MT40236186
BOLT,Hex, M14 x 2 x 50mm
4шт.
3
MT40234226
BOLT
8шт.
4
MT40288183
HOUSING
Battery Case
5
MT40293360
PLATE
Incl 6
6
MT40293361
WEATHERSTRIP
7
MT40029006
BOLT,Hex, M8 x 1.25 x 20mm
5шт.
8
MT40266264
BRACKET,6mm Thk
9
MT40029007
BOLT,Hex, M8 x 1.25 x 25mm
2шт.
10
MT40183617
11
MT40029553
WASHER,14.20mm ID x 24.50mm OD x 3.50mm Thk
14шт.
Выбрано товаров: 0