Запчасти Case IH FARMALL 60 (11.05) - FRONT WEIGHT CARRIER - 718233016 (11) - WHEELS/TRACKS

Схема запчастей Case IH FARMALL 60 - (11.05) - FRONT WEIGHT CARRIER - 718233016 (11) - WHEELS/TRACKS
3
2
4
5
3
FIT
1:1
100%

Артикул

Название

Примечание

Количество

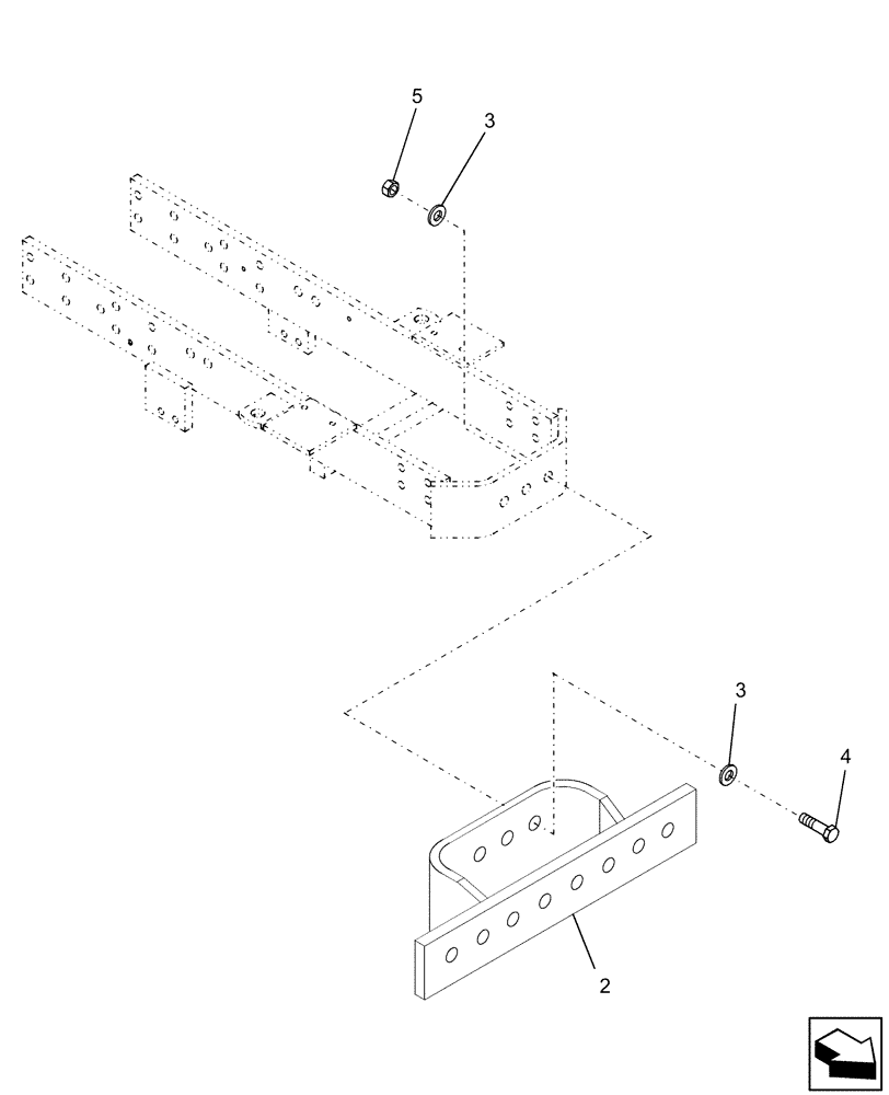
1

718233016

DIA KIT, ADD PROD

Front Weight Carrier (will hold up to (5) 60 lb. weights (710215016) or (5) 100 lb. weights (718215036)

1шт.

2

NSS

NOT SOLD SEPARAT

Bracket

1шт.

3

394631

WASHER,17mm ID x 34mm OD x 4mm Thk

6шт.

4

120090

BOLT,Hex, M16 x 50mm, Cl 8.8

3шт.

5

100020

NUT,M16 x 2.0, Cl 8

3шт.

Выбрано товаров: 5