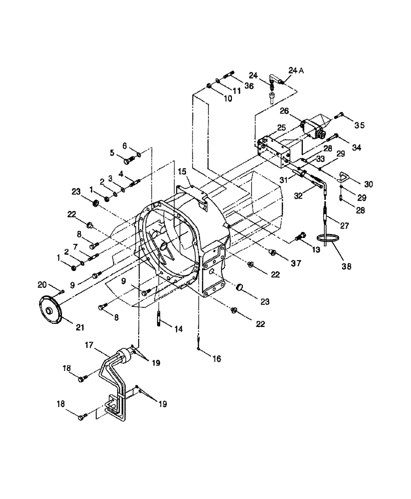
Запчасти Case IH FARMALL 60 (03.02) - CLUTCH CASE - EHSS (03) - TRANSMISSION

Схема запчастей Case IH FARMALL 60 - (03.02) - CLUTCH CASE - EHSS (03) - TRANSMISSION
24a
23
28
7
26
24
1
37
29
2
16
31
32
23
11
17
35
9
20
14
13
30
25
1
18
22
38
19
21
4
5
15
34
27
22
28
3
18
6
19
10
8
36
29
8
22
9
2
33
FIT
1:1
100%

Артикул

Название

Примечание

Количество

1

100016

NUT,M10 x 1.5, Cl 8

3шт.

2

892-11010

LOCK WASHER,M10

3шт.

3

86511323

WASHER,10.5mm ID x 20mm OD x 2mm Thk

2шт.

4

SBA012111030

STUD,M10 x 30

2шт.

5

SBA010331250

BOLT

M12 x 50

2шт.

6

412123

LOCK WASHER,13.1mm ID x 21.1mm OD x 2.55mm Thk

2шт.

7

SBA012111045

SCREW

Stud

1шт.

8

300383

BOLT,Hex, M10 x 1.5 x 16mm, Cl 8.8, Full Thd

6шт.

9

SBA011511045

BOLT

M10 x 45

5шт.

10

SBA020210014

NUT

M14

2шт.

11

140030

LOCK WASHER,M14

2шт.

13

SBA010109368

BOLT

M12 x 40

10шт.

14

SBA012110855

STUD,M8 x 55

1шт.

15

SBA320111840

CASE

Clutch

1шт.

16

SBA030104020

PIN

Split

1шт.

17

SBA340709760

PIPE

Oil

1шт.

18

SBA011510825

CAPTIVE WASHER SCREW,Hex, M8 x 25, G5

3шт.

19

SBA052100120

O-RING

6шт.

20

86512134

HEX SOC SCREW,M6 x 16mm, Cl 12.9

8шт.

21

SBA322613250

COUPLING

Flex, No Pilot Bearing Used

1шт.

22

SBA398460010

PLUG,M19

Blank

14шт.

23

SBA398110760

COVER

2шт.

24a

SBA340674200

ADAPTER

1шт.

24b

SBA340674210

ADAPTER

1шт.

25

SBA340016850

VALVE

Control EHSS Refer to Fig. 07.03.01 for Breakdown

1шт.

26

SBA340014980

HYDRAULIC VALVE

1шт.

27

SBA312070751

WIRE

1шт.

28

SBA145986090

TUBE

2шт.

29

SBA398756260

BAND

2шт.

30

SBA340692971

HOSE

Oil

1шт.

31

SBA312750300

BRACKET

Wire

1шт.

32

SBA011510870

BOLT,M8 x 70mm

1шт.

33

SBA020100006

NUT

M6

1шт.

34

SBA011510865

BOLT

M8 x 65

2шт.

35

SBA340293560

BOLT

2шт.

36

SBA012109258

BOLT

Stud

2шт.

37

SBA398460210

PLUG

2шт.

38

SBA398750220

CABLE TIE

CABLE STRAP

1шт.

Выбрано товаров: 38