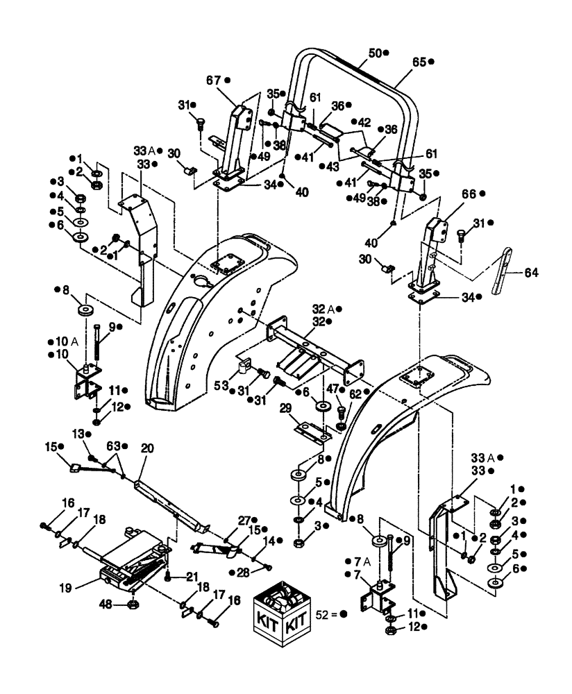
Запчасти Case IH FARMALL 60 (08.04) - ROLLBAR & SEAT BRACKETS (08) - SHEET METAL

Схема запчастей Case IH FARMALL 60 - (08.04) - ROLLBAR & SEAT BRACKETS (08) - SHEET METAL
29
33a
33
65
43
5
64
2
13
1
3
11
38
15
2
15
10a
10
18
38
12
6
32
1
7a
33a
9
50
3
21
41
27
36
35
8
40
9
19
28
6
8
41
12
3
2
17
11
2
1
4
36
30
33
18
32a
52
20
63
4
30
35
34
16
49
16
7
62
48
31
61
40
66
5
61
42
14
17
34
8
31
6
47
53
67
31
49
31
4
1
5
FIT
1:1
100%

Артикул

Название

Примечание

Количество

1

412123

LOCK WASHER,13.1mm ID x 21.1mm OD x 2.55mm Thk

16шт.

2

9706685

NUT,M12 x 1.75, Cl 8

16шт.

3

825-1416

NUT,M16, Cl 8

4шт.

4

86729275

LOCK WASHER,5/8 0.634 CST ZND

4шт.

5

SBA399340180

WASHER

4шт.

6

SBA398115970

RUBBER RING

4шт.

7

SBA370602070

BRACKET

1шт.

8

SBA398115960

RUBBER RING

4шт.

9

SBA010109414

BOLT

4шт.

10

SBA370602080

BRACKET

1шт.

11

412123

LOCK WASHER,13.1mm ID x 21.1mm OD x 2.55mm Thk

4шт.

12

9706685

NUT,M12 x 1.75, Cl 8

4шт.

13

SBA011511025

CAPTIVE WASHER SCREW,Hex, M10 x 25, G5

1шт.

14

SBA026200010

WASHER

M10

1шт.

15

SBA355850170

SEAT BELT

1шт.

16

SBA011510820

CAPTIVE WASHER SCREW,Hex, M8 x 20, G5

2шт.

17

SBA026109011

WASHER

2шт.

18

SBA399235090

COLLAR

2шт.

19

SBA355080620

SUSPENSION

1шт.

20

SBA355752700

BRACKET

1шт.

21

SBA011511225

BOLT

M12 x 25

2шт.

27

SBA026109037

WASHER

1шт.

28

SBA011511020

BOLT,M10 x 20

1шт.

29

SBA378341980

BRACKET

1шт.

30

SBA399112140

CLAMP

2шт.

31

SBA010311245

BOLT

16шт.

32

SBA378308440

FRAME

1шт.

33

SBA378308450

FRAME

2шт.

34

SBA322991080

PAD

Gasket

2шт.

35

SBA022409003

NUT,U, M16 x 1.5, Cl 8

2шт.

36

SBA031109029

RING

Snap Pin

2шт.

37

100016

NUT,M10 x 1.5, Cl 8

2шт.

40

SBA398460320

PLUG

Blank

2шт.

41

SBA010109506

BOLT

2шт.

42

SBA398230070

WIRE

ROPS

2шт.

43

SBA370901200

PIN

2шт.

47

SBA011511225

BOLT

4шт.

48

SBA021500008

NUT,M8

4шт.

49

SBA010311030

BOLT

M10 x 30

2шт.

50

SBA390197531

DECAL

DANGER, TOP OF ROPS

1шт.

52

SBA378050860

ROPS

1шт.

53

SBA399112140

CLAMP

2шт.

55

SBA020210014

NUT

1шт.

56

SBA026200012

WASHER

1шт.

57

100016

NUT,M10 x 1.5, Cl 8

1шт.

58

SBA010109580

BOLT

1шт.

59

43362

NUT,M8 x 1.25, Cl 10

1шт.

60

SBA398122230

RUBBER PAD

1шт.

61

SBA398216080

SPRING

2шт.

62

SBA027100012

WASHER

M12

1шт.

63

SBA026100010

WASHER

M10

2шт.

64

SBA385960940

COVER

2шт.

Выбрано товаров: 52