Запчасти Case IH 717153026 (100) - 60" FRONT BLADE

Схема запчастей Case IH 717153026 - (100) - 60" FRONT BLADE
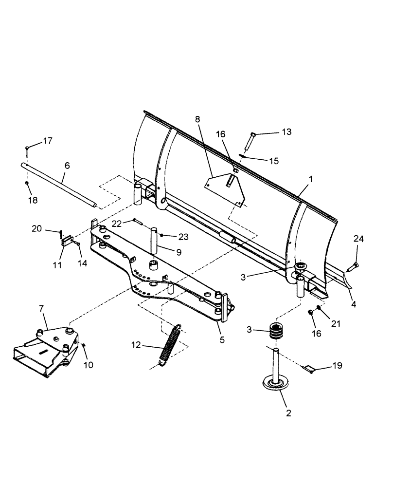
9
8
11
22
12
16
18
14
24
21
4
19
10
15
5
6
2
16
23
17
3
3
13
20
1
FIT
1:1
100%

Артикул

Название

Примечание

Количество

1

CSE666604

FAN BLADE

BLADE

1шт.

2

BER664564

SHOE

Skid

2шт.

3

BER659393

WASHER

16шт.

4

BER659761

CUTTING EDGE

1шт.

5

CSE664893

Adjustable

1шт.

5

CSE667267

Adjustable

1шт.

USED ON & ASN RAD011521

1шт.

6

BER664959

PIN

22 -11/16"

2шт.

7

BER664970

HITCH

Female

1шт.

7

BER667218

HITCH

Female

1шт.

USED ON & ASN RAD011521

1шт.

8

BER664912

PLATE

Spring

1шт.

9

BER664932

PIVOT PIN

1шт.

10

BER654106

FITTING

Grease, 1/4"

1шт.

11

BER658968

SPRING LOCK

2шт.

11

BER667265

SPRING LOCK

2шт.

USED ON & ASN RAD011521

1шт.

12

BER31205

SPRING

2шт.

13

BER665002

BOLT

Hex, 5/8" x 3 -1/2" GR5, Full Thread

1шт.

14

BER657489

PIN

3/8" x 1 -1/4"

2шт.

14

BER4600028

PIN

1/2" x 1 -27/64"

2шт.

USED ON & ASN RAD011521

1шт.

15

PL

PROCURE LOCALLY

Washer, Flat, 11/16"

1шт.

16

PL

PROCURE LOCALLY

Nut, Hex, 5/8"

8шт.

17

PL

PROCURE LOCALLY

Bolt, Hex, 5/16" x 2" GR5

2шт.

18

PL

PROCURE LOCALLY

Nut, Lock, Nylon Insert, 5/16"

2шт.

19

BER1900001

LINCH PIN

5/16"

2шт.

20

BER1800004

COTTER PIN

1/8" x 2 -9/16"

2шт.

21

PL

PROCURE LOCALLY

Washer, Lock, 5/8"

7шт.

22

PL

PROCURE LOCALLY

Bolt, Hex, 3/8" x 2 -1/2" GR5

1шт.

23

PL

PROCURE LOCALLY

Nut, Lock, Nylon Insert, 3/8"

1шт.

24

BER0400008

BOLT

5/8" x 2" GR5

7шт.

Выбрано товаров: 32