Запчасти Case IH BMX154 (100) - 54" FRONT BLADE

Схема запчастей Case IH BMX154 - (100) - 54" FRONT BLADE
14
4
11
18
9
17
12
7
6
20
3
2
19
5
9
5
10
9
8
16
13
15
21
6
13
1
FIT
1:1
100%

Артикул

Название

Примечание

Количество

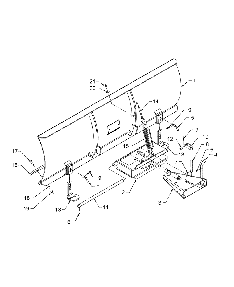
1

CSE666769

FAN BLADE

BLADE

1шт.

2

CSE659502

HITCH

Adjustable

1шт.

3

BER657291

3 POINT HITCH

QUICK, Female

1шт.

4

BER659504

PIN

Adjustment

1шт.

5

BER657293

PIN

Skid Shoe

2шт.

6

PL

PROCURE LOCALLY

Pin, Spring, 1/4" x 1"

2шт.

7

PL

PROCURE LOCALLY

Pin, Spring, 3/16" x 1"

1шт.

8

BER657289

PIN

Pivot

2шт.

9

BER1800004

COTTER PIN

3mm x 65mm

3шт.

10

BER657488

SPARE PART

Spring, Lockout

1шт.

11

BER657871

PIN

3/4" x 17 -3/4"L

1шт.

12

BER657489

PIN

Lockout

1шт.

13

BER657500

SKID/SHOE

1шт.

14

BER656229

EYEBOLT

5/16" UNC x 5", Includes: Ref. 21

1шт.

15

BER30089

SPRING

1шт.

16

BER659503

CUTTING BLADE

1шт.

17

PL

PROCURE LOCALLY

Bolt, Carriage, 3/8" x 1 -1/4"

1шт.

0300010

1шт.

18

PL

PROCURE LOCALLY

Washer, Lock, 3/8"

1шт.

19

PL

PROCURE LOCALLY

Nut, Hex, 3/8"

1шт.

20

PL

PROCURE LOCALLY

Washer, Flat, 3/8"

1шт.

21

9635082

NUT,5/16" - 18, Gr 5

1шт.

Выбрано товаров: 22