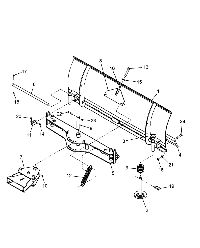
Запчасти Case IH BMX172 (102) - 72" FRONT BLADE

Схема запчастей Case IH BMX172 - (102) - 72" FRONT BLADE
20
12
11
18
21
17
22
5
16
23
15
3
24
10
1
13
4
2
6
3
19
8
16
9
14
FIT
1:1
100%

Артикул

Название

Примечание

Количество

1

CSE666724

MOLDBOARD

1шт.

2

BER664564

SHOE

Skid

2шт.

3

BER659393

WASHER

16шт.

4

BER661724

CUTTING EDGE

1шт.

5

CSE666758

HITCH

Adjustable

1шт.

5

CSE666219

Adjustable

1шт.

USED ON & ABOVE SN RAD012037

1шт.

6

BER664959

PIN

22 -11/16"

2шт.

7

BER664970

HITCH

Female

1шт.

7

BER667218

HITCH

Female

1шт.

USED ON & ABOVE SN RAD012037

1шт.

8

BER664912

PLATE

Spring

1шт.

9

BER664932

PIVOT PIN

1шт.

10

BER654106

FITTING

Grease, 1/4"

1шт.

11

BER658968

SPRING LOCK

2шт.

11

BER667265

SPRING LOCK

2шт.

USED ON & ABOVE SN RAD012037

1шт.

12

BER31205

SPRING

2шт.

13

BER665002

BOLT

Hex, 5/8" x 3 -1/2" GR5

1шт.

14

BER657489

PIN

3/8" x 1 -1/4"

2шт.

14

BER4600028

PIN

1/2" x 1 -27/64"

2шт.

USED ON & ABOVE SN RAD012037

1шт.

15

PL

PROCURE LOCALLY

Washer, Flat, 11/16"

1шт.

16

PL

PROCURE LOCALLY

Nut, Hex, 5/8"

10шт.

17

PL

PROCURE LOCALLY

Bolt, Hex, 5/16" x 2" GR5

2шт.

18

PL

PROCURE LOCALLY

Nut, Lock, Nylon Insert, 5/16"

2шт.

19

BER1900001

LINCH PIN

5/16"

2шт.

20

BER1800004

COTTER PIN

3mm x 65mm

2шт.

21

PL

PROCURE LOCALLY

Washer, Lock, 5/8"

9шт.

22

PL

PROCURE LOCALLY

Bolt, Hex, 3/8" x 2 -1/2" GR5

1шт.

23

PL

PROCURE LOCALLY

Nut, Lock, Nylon Insert, 3/8"

1шт.

24

BER0400008

BOLT

5/8" x 2"

9шт.

Выбрано товаров: 32