Запчасти Case IH BMX184 (103) - HYDRAULIC ANGLING (00) - COMPLETE MACHINE

Схема запчастей Case IH BMX184 - (103) - HYDRAULIC ANGLING (00) - COMPLETE MACHINE
7
12
15
6
11
9
10
12
8
11
3
13
8
9
14
4
5
2
7
10
16
1
FIT
1:1
100%

Артикул

Название

Примечание

Количество

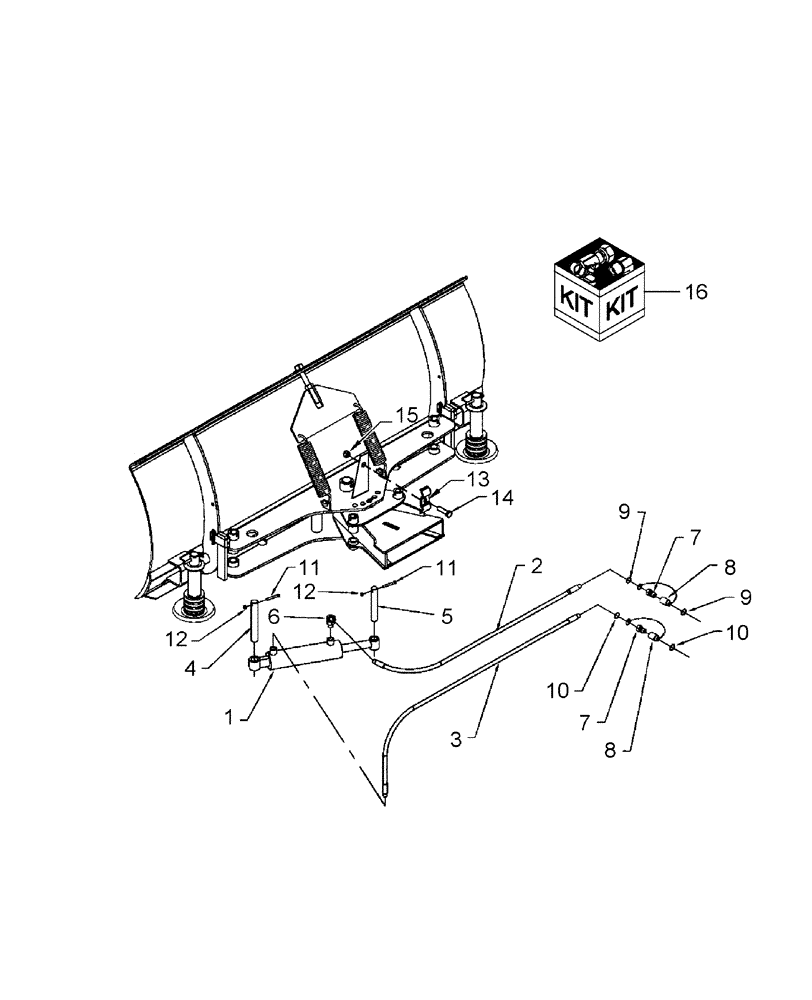
1

BER664979

HYDRAULIC CYLINDER,Double Acting, 165.1mm Stroke

2" x 6 -1/2"

1шт.

2

BER659203

HOSE

1/4" x 55"

1шт.

3

BER657244

HOSE

1/4" x 60"

1шт.

4

BER664993

PIN

7/8" x 6 -5/16"

1шт.

5

BER664994

PISTON PIN

3/4" x 5 -3/16"

1шт.

6

BER655269

ELBOW

45°, 3/8" x 3/8", Female

1шт.

7

BER658118

QUICK MALE COUPLING

3/8"

2шт.

8

BER658397

DUST CAP

2шт.

8

BER658203

DUST CAP

USED ON & ASN YAWR00847

2шт.

9

BER658209

RING

Identification - Green

2шт.

10

BER658206

RING

Identification - Yellow

2шт.

11

PL

PROCURE LOCALLY

Bolt, Hex, 1/4" x 1 -3/4" GR5

2шт.

12

PL

PROCURE LOCALLY

Nut, Lock, Nylon Insert, 1/4"

2шт.

13

BER666583

HOSE CLAMP

1шт.

14

PL

PROCURE LOCALLY

Bolt, Hex 3/8" x 1 -1/4" GR5

1шт.

15

PL

PROCURE LOCALLY

Nut, Lock, Nylon Insert, 3/8"

1шт.

16

BER665017

SEAL KIT

1шт.

Выбрано товаров: 17