Запчасти Case IH BMX184 (109) - 84" MAINFRAME & BLADE (00) - COMPLETE MACHINE

Схема запчастей Case IH BMX184 - (109) - 84" MAINFRAME & BLADE (00) - COMPLETE MACHINE
12
54
57
25
22
31
31
31
27
59
53
7
52
56
37
23
33
55
21
20
27
50
27
28
15
26
58
30
32
34
24
3
5
42
31
55
1
35
18
23
43
8
6
35
19
4
23
2
9
21
25
51
24
11
27
2
41
14
23
42
21
36
29
10
28
13
33
21
5
FIT
1:1
100%

Артикул

Название

Примечание

Количество

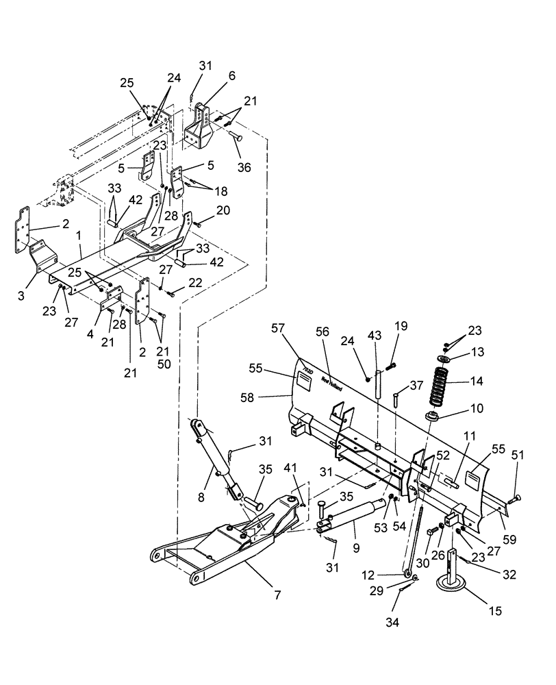
1

SML51176

FRAME ASSY

Rear

1шт.

2

SML51179

MOUNTING PLATE

1шт.

3

SML511801

SUPPORT

LH

1шт.

4

SML511802

SUPPORT

RH

1шт.

5

SML51182

SUPPORT

Front

2шт.

6

SML51183

BRACKET

Cylinder

1шт.

7

SML49060

FRAME ASSY

Front

1шт.

8

SML48955

LIFT CYLINDER

JA 2"

1шт.

9

NSS

NOT SOLD SEPARAT

AI 2"

2шт.

10

SML48985

GUIDE

2шт.

11

SML48981

PIVOT PIN

2шт.

12

SML48979

BOLT

Eye

2шт.

13

SML49008

CAP

2шт.

14

SML48980

COMPRESSION SPRING

2шт.

15

SML48976

SKID/SHOE

2шт.

18

413-832

BOLT,Hex, 1/2" - 13 x 2", Gr 5

4шт.

19

413-840

BOLT,Hex, 1/2" - 13 x 2-1/2", Gr 5

HH, G5, 1/2"-13 x 2-1/2"

1шт.

20

413-1032

BOLT,Hex, 5/8" - 11 x 2", Gr 5

2шт.

21

413-1028

BOLT,Hex, 5/8" - 11 x 1-3/4", Gr 5

HH, G5, 5/8"-11 x 1-3/4"

10шт.

22

614-16040

BOLT,Hex, M16 x 2 x 40mm, Cl 8.8, Full Thd

10шт.

23

425-1010

NUT,5/8"-11, G5

10шт.

24

231-4148

NUT,1/2"-13, GB

GB, 1/2"-13

5шт.

25

231-41410

NUT,5/8"-11, GB

7шт.

26

9638005

JAM NUT,1/2" - 13, Gr 2

2шт.

27

492-11062

BEARING WASHER,5/8"

16шт.

28

495-21069

WASHER,5/8"

4шт.

29

495-21081

WASHER,3/4"

2шт.

30

485-15024

SET SCREW,Sq Hd, 1/2"-13 x 1 1/2"

Set, Sq Hd, Cup Pt, 1/2"-13 x 1-1/2"

2шт.

31

1327382C1

ARM ASSY.

6шт.

32

432-1616

COTTER PIN,1/4" x 1"

1/4" x 1"

2шт.

33

432-1640

COTTER PIN,1/4" x 2 1/2"

1/4" x 2 1/2"

4шт.

34

432-1224

COTTER PIN,3/16" x 1-1/2"

2шт.

35

SML4190210

CLEVIS PIN

3шт.

36

SML419025

CLEVIS PIN

1шт.

37

SML4190216

CLEVIS PIN

2шт.

41

219-90

LUBE NIPPLE,45 Degree Elbow, 1/4" -28 NPTF

Lube, Self-Tapping, 1/4" - 28, 45°

1шт.

42

SML491951

PIN

PIN

2шт.

43

SML481631

PIN

1шт.

51

SML466712

BOLT

Plow, 5/8" -11 x 1-3/4"

7шт.

52

87631

BOLT,Hex, 3/4" - 16 x 2 1/2", Gr 5

2шт.

53

87313

JAM NUT,Jam, 3/4"-16, G2

2шт.

54

492-11075

LOCK WASHER,3/4"

3/4"

2шт.

55

SML46543

DECAL

2шт.

56

SML51467

DECAL

Case IH

1шт.

57

SML51524

DECAL

BMX 184

1шт.

58

W0

ORDER WHOLEGOODS

Blade, Front

1шт.

59

NSS

NOT SOLD SEPARAT

Edge, Cutting - Reversible

1шт.

Выбрано товаров: 47