Запчасти Case IH 234 (10-20) - HYDRAULICS, HYDRAULIC CYLINDER, 234 (07) - HYDRAULICS

Схема запчастей Case IH 234 - (10-20) - HYDRAULICS, HYDRAULIC CYLINDER, 234 (07) - HYDRAULICS
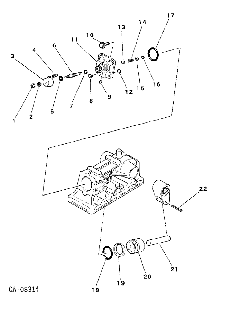
1
21
9
19
7
4
20
14
11
18
6
2
16
10
22
5
3
13
15
17
12
8
FIT
1:1
100%

Артикул

Название

Примечание

Количество

1

30167R1

NUT,M8, Cl 10

M8 PHC class 10

1шт.

2

934309R1

LOCK WASHER,M8

WASHER, 8 mm lock

1шт.

3

1275040C1

KNOB

1шт.

4

31115R1

LOCK PIN,M4 x 16, Slotted

PIN, 4 x 16 mm pln slt spr

1шт.

5

1269872C1

O-RING

1шт.

6

1275041C1

ADJUSTMENT SCREW,M8 x 1.25 x 14mm

SCREW, adjuster

1шт.

7

1273520C1

O-RING

O-RING

1шт.

8

103885

PLUG,Slotted, 3/8" NPT

3/8 pln slt/hdl pipe

1шт.

9

103883

PIPE PLUG,Slotted, Headless, 1/8" NPT

PLUG, PIPE, , pln Slotted, Headless, 1/8" NPT

1шт.

10

1265214C1

BOLT

w/washer

4шт.

933966R1

LOCK WASHER,M12

WASHER, 12 mm lock

4шт.

11

1275042C1

END ASSY.

END, cylinder head

1шт.

12

1273522C1

O-RING

O-RING, replaces 1275043C1

1шт.

13

17014R1

BALL

7/16 grade 25 metal

1шт.

14

1275044C1

VALVE SPRING

SPRING

1шт.

15

1273211C1

WASHER

6.5 x 14 x 10 mm

1шт.

16

933687R1

SNAP RING,M15, Int

RING, 16.02 mm int ret

1шт.

17

1275045C1

O-RING

O-RING

1шт.

18

1269882C1

O-RING

O-RING

1шт.

19

1275046C1

RING

back-up

1шт.

20

1275047C1

PISTON ASSY.

PISTON

1шт.

21

1275048C1

AXLE PIN

PIN, piston, rod

1шт.

22

932479R1

COTTER PIN,M5 x 50

PIN, 5 x 50 mm pln cot.

1шт.

Ref the fork, lift w/no ref number that Ref. 22 goes into seen on fg 7-18. p/n 1271805C1.

1шт.

Выбрано товаров: 24