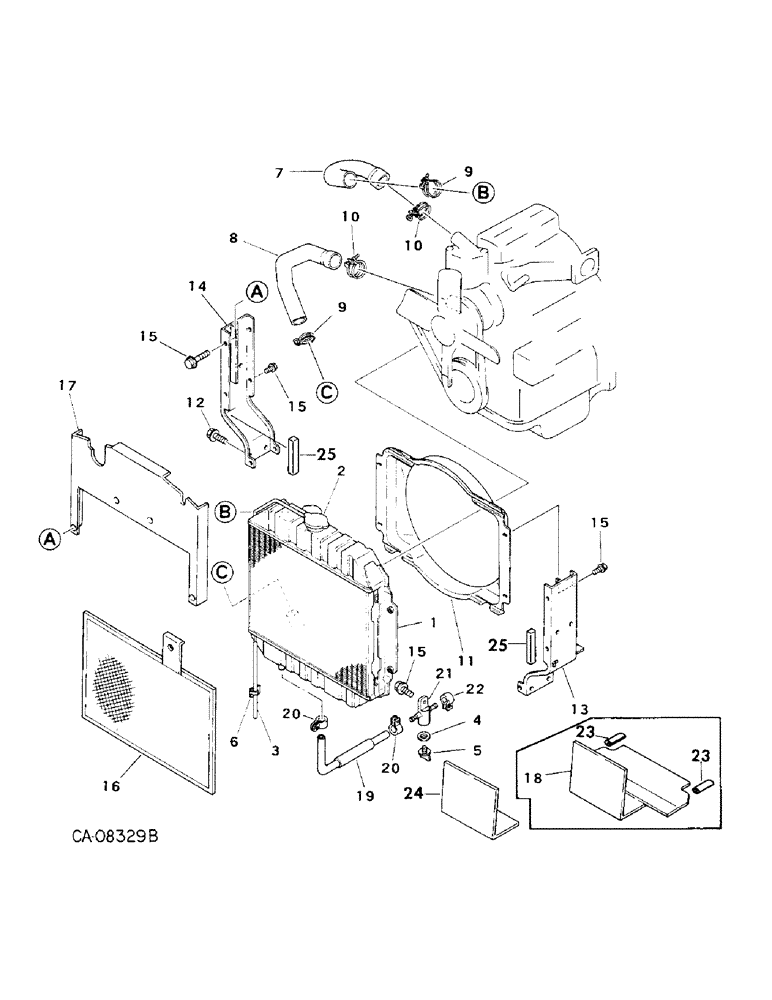
Запчасти Case IH 234 (06-01) - COOLING, RADIATOR AND CONNECTIONS, 234 Cooling

Схема запчастей Case IH 234 - (06-01) - COOLING, RADIATOR AND CONNECTIONS, 234 Cooling
6
9
7
22
13
8
16
24
21
2
25
5
17
15
15
23
20
4
12
25
18
10
14
9
19
20
10
15
15
11
1
3
23
FIT
1:1
100%

Артикул

Название

Примечание

Количество

1

1275080C1

RADIATOR

LESS CAP

1шт.

2

1269639C1

CAP

radiator

1шт.

3

PIPE, vinyl overflow, furnish 24.5 in./622 mm from bulk roll marked 87769C1

1шт.

4

1275077C1

GASKET

PACKING, drain cock valve

1шт.

5

1275078C1

LOCK VALVE

VALVE, drain cock

1шт.

6

1269607C1

CLIP

overflow pipe

1шт.

7

1275081C1

RADIATOR HOSE,35.00 mm ID x 80.00 mm

Inlet 35.00 mm ID x 80.00 mm

1шт.

8

1269609C1

HOSE,35.00 mm ID x 85.00 mm

- Outlet 35.00 mm ID x 85.00 mm

1шт.

9

27724R1

HOSE CLAMP,#24, 1.06/2.00 Type F Worm, W/liner

CLAMP, no. 24 shoe type f hose

2шт.

10

681209C1

HOSE CLAMP,#32, 1.56/2.50 Type F Worm, W/liner

CLAMP, no. 32 shoe type f hose

2шт.

11

1269610C1

SHROUD

fan

1шт.

12

43127

BOLT,Hex, M8 x 1.25 x 25mm, Cl 8.8

4шт.

934309R1

LOCK WASHER,M8

WASHER, 8 mm lock

4шт.

934675R1

WASHER,M8 x 16 x 1.6

8.8 x 17 x 1.6 mm

4шт.

13

1275083C1

BRACKET

rad LH

1шт.

14

1275084C1

BRACKET

rad RH

1шт.

15

628-8020

BOLT,Hex, M8 x 20, 10.9, Full Thd

M8 x 20 class 8.8

8шт.

934309R1

LOCK WASHER,M8

WASHER, 8 mm lock

8шт.

934675R1

WASHER,M8 x 16 x 1.6

8.8 x 17 x 1.6 mm

8шт.

16

1275085C1

SCREEN

radiator

1шт.

17

1275086C3

PLATE

rad support, also order three nuts, 30167R1 if required

1шт.

18

1275087C1

COVER

rad bottom, 234 gear drive tractors w/serial no. 008911 and below, 234 hydrostatic drive tractors w/serial no. 008462 and below

1шт.

19

PIPE, water, furnish 12.6 in./320 mm from bulk roll marked 382997C1

1шт.

20

27860R1

HOSE CLAMP,#06, .44/.78 Type F Worm, W/liner

CLAMP, no. 6 shoe type f hose

2шт.

21

1269622C1

TEE

1шт.

22

27860R1

HOSE CLAMP,#06, .44/.78 Type F Worm, W/liner

CLAMP, no. 6 shoe type f hose

1шт.

23

SEAL, rubber, furnish 1.85 in./47 mm from bulk roll marked, 198578C1, 234 gear drive tractors w/serial no. 008911 and below, 234 hydrostatic drive tractors w/serial no. 008462 and below

2шт.

24

1287976C1

COVER

radiator bottom, 234 gear drive tractors w/serial no. 008912 and above, 234 hydrostatic drive tractors w/serial no. 008463 and above

1шт.

25

CUSHION, 25 mm x 25 mm x 75 mm long, furnish 2.95 in./75 mm from bulk roll marked, 73215C1, 234 gear drive tractors w/serial no. 008912 and above, 234 hydrostatic drive tractors with serial no. 008463 and above

1шт.

1287941C91

PACKAGE

radiator baffle, 234 gear drive tractors w/serial no. 008911 and below, 234 hydrostatic drive tractors w/serial no. 008462 and below, consists of

1шт.

1287977C1

BAFFLE

radiator

1шт.

1287975C1

PLUG

1шт.

PLUG, mat, gear drive only (2), cushion, 20 mm x 20 mm x 80 mm long (4) (NSS), cushion, 45 mm x 45 mm x 85 mm long (2) (NSS), cushion, 20 mm x 20 mm x 100 mm long (2) (NSS), cushion, 25 mm x 25 mm x 75 mm long (2) (NSS), cushion, 25 mm x 25 mm x 200 mm long (NSS), seal, rubber (2) (NSS)

1шт.

Выбрано товаров: 33