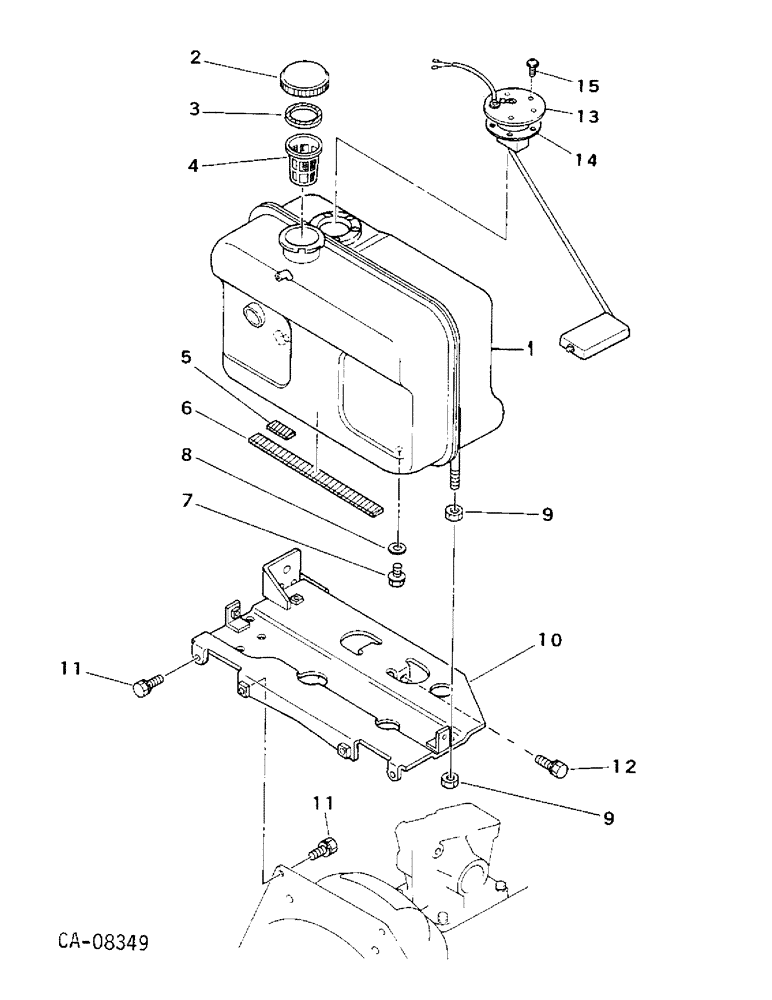
Запчасти Case IH 234 (12-06) - POWER, FUEL TANK AND SUPPORTS, 234 Power

Схема запчастей Case IH 234 - (12-06) - POWER, FUEL TANK AND SUPPORTS, 234 Power
13
9
2
15
7
6
11
5
11
12
14
8
4
3
10
1
9
FIT
1:1
100%

Артикул

Название

Примечание

Количество

1

1273622C1

FUEL TANK

TANK, fuel

1шт.

2

1269626C1

CAP

fuel tank

1шт.

3

1269627C1

SEAL

fuel tank cap

1шт.

4

1269628C1

STRAINER ELEMENT

STRAINER

1шт.

5

1273624C1

STRIP

cushion

1шт.

6

1269629C1

STRIP

tank cushion

2шт.

7

1269630C1

BOLT,M8 x 1.25 x 12mm

BOLT, tank drain plug

1шт.

8

1275284C1

SEALING WASHER

SEAL, drain

1шт.

9

825-11410

NUT,M10 x 1.25, Cl 8

4шт.

10

1269632C1

BRACKET

tank support

1шт.

10

1273651C1

SUPPORT

BRACKET, tank support, hydrostatic transmission only

1шт.

11

1269789C1

BOLT,Hex M10 x 20mm

BOLT W/WASHER

1шт.

12

628-8020

BOLT,Hex, M8 x 20, 10.9, Full Thd

M8 x 20 class 8.8

2шт.

934309R1

LOCK WASHER,M8

WASHER, 8 mm lock

2шт.

934675R1

WASHER,M8 x 16 x 1.6

8.8 x 17 x 1.6 mm

2шт.

13

1269633C1

GAUGE ASSY.

GAGE, fuel sending, includes ref 14

1шт.

14

1269634C1

GASKET

fuel gage

1шт.

15

30496R1

SCREW,Cross Pan Hd, M4 x 10

M4 x 10 class 4.8 P/HDCR

5шт.

933832R1

LOCK WASHER,M4

WASHER, 4 mm lock

5шт.

30227R1

WASHER

4.3 x 9 x .8 mm pln

5шт.

Выбрано товаров: 20