Запчасти Case IH 234 (07-07) - DRIVE TRAIN, DIFFERENTIAL, 234 (04) - Drive Train

Схема запчастей Case IH 234 - (07-07) - DRIVE TRAIN, DIFFERENTIAL, 234 (04) - Drive Train
20
13
2
10
21
28
6
16
11
7
24
18
10
27
8
17
16
26
17
26
1
15
8
22
9
25
14
18
4
25
9
23
25
27
19
11
12
3
28
5
23
FIT
1:1
100%

Артикул

Название

Примечание

Количество

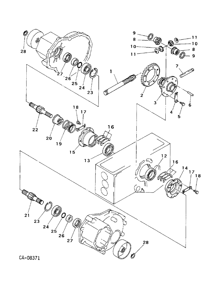
1

1269471C1

SHAFT

counter, 234 2 wheel drive

1шт.

1

1269472C1

SHAFT

counter, 234 4 wheel drive

1шт.

2

1269478C1

GEAR WHEEL

GEAR, ring

1шт.

3

1269473C1

CASE

differential

1шт.

4

1273457C1

SUPPORT ASSY.

SUPPORT, lock, replaces 1269464C1

4шт.

5

814-8016

BOLT,Hex, M8 x 1.25 x 16mm, Cl 8.8, Full Thd

8шт.

6

31122R1

LOCK PIN,M6 x 40, Slotted

PIN, 8 x 40 mm pln slt spr

1шт.

7

1269465C1

SHAFT HOUSING

SHAFT, pinion

1шт.

8

1269479C1

GEAR WHEEL

GEAR, side

2шт.

9

1269467C1

THRUST WASHER

thrust

2шт.

10

1269483C1

GEAR WHEEL

GEAR, pinion mate

2шт.

11

1269466C1

THRUST WASHER

thrust

2шт.

12

1271854C91

BEARING, BALL

BEARING ASSY

1шт.

13

1271861C91

BALL BEARING

ASSY

1шт.

14

1269475C1

NOZZLE HOLDER

HOLDER, LH bearing

1шт.

15

1269474C1

HOLDER

RH bearing

1шт.

16

1273258C1

SHIM

SET, use as required

1шт.

17

1269468C1

SUPPORT ASSY.

SUPPORT, bearing holder

6шт.

18

628-8020

BOLT,Hex, M8 x 20, 10.9, Full Thd

M8 x 20 class 8.8

12шт.

19

1269469C1

VALVE SPRING

SPRING

1шт.

20

1269480C1

HUB CAP

HUB

1шт.

21

1269481C1

SHAFT HOUSING

SHAFT, LH differential

1шт.

22

1269482C1

SHAFT HOUSING

SHAFT, RH differential

1шт.

23

933108R1

SNAP RING,M62, Int

RING, 65.74 mm int ret

2шт.

24

1271864C91

CRANKSHAFT BEARING

BEARING ASSY

2шт.

25

1269875C1

O-RING

2шт.

26

1269470C1

SPACER

2шт.

27

1273186C1

OIL SEAL

SEAL, oil

2шт.

28

933128R1

SNAP RING,M25, Ext

RING, 22.78 mm ext ret

2шт.

Выбрано товаров: 29