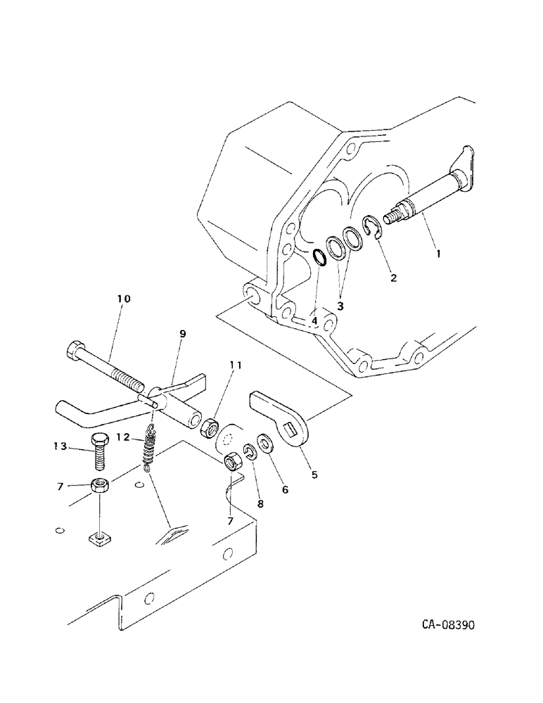
Запчасти Case IH 234 (07-31) - DRIVE TRAIN, DIFFERENTIAL LOCK SHIFTER, 234 (04) - Drive Train

Схема запчастей Case IH 234 - (07-31) - DRIVE TRAIN, DIFFERENTIAL LOCK SHIFTER, 234 (04) - Drive Train
10
12
7
7
4
6
2
9
3
5
1
8
11
13
FIT
1:1
100%

Артикул

Название

Примечание

Количество

1

1269486C1

LEVER

1шт.

2

1271818C1

CIRCLIP,M13

RING, snap

1шт.

3

1269551C1

SET

SHIM SET

1шт.

4

1269870C1

O-RING

O-RING

1шт.

5

1269484C1

ARM

1шт.

6

30326R1

WASHER,M8 x 17.5 x 2, HT

8.8 x 17 x 2 mm

1шт.

7

30167R1

NUT,M8, Cl 10

M8 PHC class 10

2шт.

8

934309R1

LOCK WASHER,M8

WASHER, 8 mm lock

1шт.

9

1269487C1

PEDAL

1шт.

10

1273390C1

BOLT,Hex, M12 x 1.25 x 80mm, Half Thd

1шт.

11

825-11412

NUT,M12 x 1.25, Cl 8

1шт.

12

1269485C1

VALVE SPRING

SPRING

1шт.

13

412479

BOLT,Hex, M8 x 1.25 x 35mm, Cl 8.8

M8 x 35 class 8.8

1шт.

Выбрано товаров: 13