Запчасти Case IH 234 (07-62) - DRIVE TRAIN, HYDROSTATIC TRANSMISSION, 234, POWER TAKE-OFF SHAFT (04) - Drive Train

Схема запчастей Case IH 234 - (07-62) - DRIVE TRAIN, HYDROSTATIC TRANSMISSION, 234, POWER TAKE-OFF SHAFT (04) - Drive Train
2
14
9
9
25
19
21
20
28
22
3
1
6
23
17
7
11
24
26
18
12
8
27
10
13
9
15
16
5
4
FIT
1:1
100%

Артикул

Название

Примечание

Количество

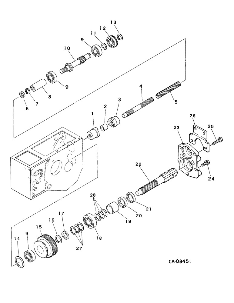
1

1273733C1

CLUTCH ASSEMBLY

CLUTCH, A

1шт.

2

1273744C1

BUSHING

1шт.

3

1273734C1

CLUTCH ASSEMBLY

CLUTCH, B

1шт.

4

1273735C1

SHAFT HOUSING

SHAFT, PTO drive

1шт.

5

1273736C1

VALVE SPRING

SPRING

1шт.

6

1273737C1

RETAINER

1шт.

7

933328R1

SNAP RING,M16, Ext

RING, 14.34 mm ext ret

1шт.

8

1273738C1

COUPLING

1шт.

9

1271862C91

BEARING, BALL

3шт.

10

1273739C1

SHAFT

11 teeth

1шт.

11

1273746C1

WASHER

1шт.

12

1273747C91

BEARING, BALL

BEARING

1шт.

13

933123R1

SNAP RING,M20, Ext

RING, 18.08 mm ext ret

1шт.

14

933032R1

SNAP RING,M52, Int

RING, 55.74 mm int ret

1шт.

15

1273740C1

GEAR

49 teeth

1шт.

16

933128R1

SNAP RING,M25, Ext

RING, 22.78 mm ext ret

1шт.

17

1273741C1

WASHER

collar

1шт.

18

1271864C91

CRANKSHAFT BEARING

BEARING

1шт.

19

1269416C1

SPACER

BUSHING

1шт.

20

1273182C1

OIL SEAL

SEAL, oil

1шт.

21

1273176C1

OIL SEAL

SEAL, oil

1шт.

22

1273742C1

SHAFT

PTO

1шт.

23

1273743C1

COVER ASSY

COVER

1шт.

24

16044024

BOLT,Hex, M8 x 1.25 x 40mm, Cl 8.8

2шт.

934309R1

LOCK WASHER,M8

WASHER, 8 mm lock

2шт.

25

43127

BOLT,Hex, M8 x 1.25 x 25mm, Cl 8.8

3шт.

934309R1

LOCK WASHER,M8

WASHER, 8 mm lock

3шт.

26

1275427C1

PLATE ASSY.

SUPPORT, plate

1шт.

27

1273748C1

SHIM

PACKAGE, shim service, consists of shim, 0.3 mm (NSS) , shim, 0.5 mm (NSS) 0.5 shim, 1.0 mm (NSS)

1шт.

28

1273013C1

STRIPPER PACKAGE

PACKAGE, shim service, consists of shim, 0.4 mm (NSS) (2), shim, 0.8 mm (NSS) (2), shim, 0.15 mm (NSS) (2)

1шт.

Выбрано товаров: 30