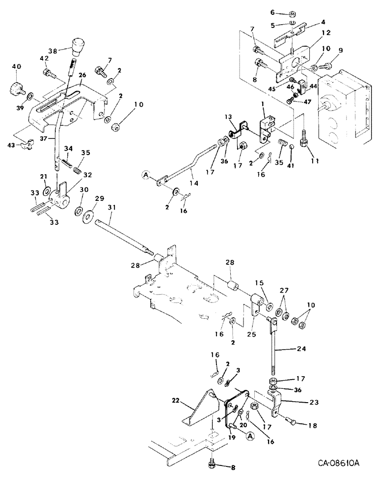
Запчасти Case IH 234 (07-68) - DRIVE TRAIN, HYDROSTATIC TRANSMISSION, 234, HYDROSTATIC CONTROLS (04) - Drive Train

Схема запчастей Case IH 234 - (07-68) - DRIVE TRAIN, HYDROSTATIC TRANSMISSION, 234, HYDROSTATIC CONTROLS (04) - Drive Train
4
40
41
33
37
2
3
31
24
6
43
27
2
17
2
35
33
16
32
47
16
44
19
2
2
10
10
22
5
13
18
46
36
15
28
17
17
20
7
14
8
12
10
28
29
16
1
16
17
35
38
39
45
30
16
34
26
36
42
3
25
7
11
9
21
2
8
23
FIT
1:1
100%

Артикул

Название

Примечание

Количество

1

1282500C1

ARM

1шт.

2

934675R1

WASHER,M8 x 16 x 1.6

8.8 x 17 x 1.6 mm

6шт.

3

1275052C1

WAVE WASHER

wave

1шт.

4

1282501C1

COVER

1шт.

5

933833R1

LOCK WASHER,M6

WASHER, 6 mm lock

1шт.

6

30281R1

NUT,M6, Cl 10

M6 class 10

1шт.

7

814-8016

BOLT,Hex, M8 x 1.25 x 16mm, Cl 8.8, Full Thd

2шт.

934309R1

LOCK WASHER,M8

WASHER, 8 mm lock

2шт.

8

1269760C1

BOLT,Hex, M10 x 1.25 x 16mm

M10 x 16

3шт.

933965R1

LOCK WASHER,M10

3шт.

9

628-8020

BOLT,Hex, M8 x 20, 10.9, Full Thd

M8 x 20 class 8.8

1шт.

10

30167R1

NUT,M8, Cl 10

M8 PHC class 10

4шт.

11

43127

BOLT,Hex, M8 x 1.25 x 25mm, Cl 8.8

1шт.

934309R1

LOCK WASHER,M8

WASHER, 8 mm lock

1шт.

12

1282502C1

HOLDER

1шт.

13

1282503C1

BRACKET

joint

1шт.

14

1282504C1

ROD

A

1шт.

15

30326R1

WASHER,M8 x 17.5 x 2, HT

8.8 x 17 x 2 mm

1шт.

16

1269734C1

AXLE PIN

PIN, snap

5шт.

17

825-11410

NUT,M10 x 1.25, Cl 8

4шт.

18

1282519C1

PIN

clevis

1шт.

19

1282505C1

LEVER

1шт.

20

30282R1

WASHER,M10 x 20 x 2

10.8 x 21 x 2 mm

1шт.

21

1282518C1

SET

SHIM SET, composed of shim A 0.2 (NSS), shim B 0.4 (NSS)

1шт.

22

1282506C1

BRACKET

1шт.

23

1282507C1

BRACKET

joint

1шт.

24

1282508C1

ROD

B

1шт.

25

1282509C1

ARM

1шт.

26

1282513C1

PANEL

1шт.

27

1265201C1

BELLEVILLE WASHER

2шт.

28

1282520C1

BUSHING

2шт.

29

933587R1

WASHER,M12 x 24 x 2.5

13.3 x 24 x 2.5 mm

1шт.

30

1282510C1

WASHER

1шт.

31

1282511C1

SHAFT

1шт.

32

1282512C1

FITTING

boss

1шт.

33

30369R1

LOCK PIN,M6 x 32, Slotted

PIN, 6 x 32 mm pln slt, spr

2шт.

34

30323R1

LOCK PIN,M5 x 26, Slotted

PIN, 5 x 26 mm pln slt spr

1шт.

35

1273456C1

VALVE SPRING

SPRING

1шт.

36

933965R1

LOCK WASHER,M10

2шт.

37

1282514C1

LEVER

hydrostatic

1шт.

38

1273497C1

KNOB

lever

1шт.

39

1282517C1

WASHER

knob

1шт.

40

1282515C1

KNOB

1шт.

41

17011R1

BALL

11/32 grade 25 metal

1шт.

42

30581R1

SCREW,Weld, M8 x 20

BOLT, M8 x 20 pln weld

2шт.

934309R1

LOCK WASHER,M8

WASHER, 8 mm lock

2шт.

934675R1

WASHER,M8 x 16 x 1.6

8.8 x 17 x 1.6 mm

2шт.

43

1282516C1

PLUG

STOPPER, hydrostatic lever

1шт.

44

1288114C1

BRACKET

hydro control stop, serial no. 008543 and above

1шт.

45

628-8020

BOLT,Hex, M8 x 20, 10.9, Full Thd

M8 x 20 class 8.8, Serial no. 008543 and above

1шт.

934309R1

LOCK WASHER,M8

WASHER, 8 mm lock

1шт.

934675R1

WASHER,M8 x 16 x 1.6

8.8 x 17 x 1.6 mm

1шт.

46

30986R1

NUT,M8 x 1.25, Flg, Cl 8

M8 class 10 h/flg, serial no. 008543 and above

1шт.

47

930294R1

BOLT,Hex, M8 x 1.25 x 30mm, Cl 8.8, Full Thd

M8 x 30 pln class 8.8, serial no. 008543 and above

1шт.

1288106C91

PACKAGE, hydro control stop, serial no. 008542 and below, consists of

1шт.

1288114C1

BRACKET

hydro control stop

1шт.

628-8020

BOLT,Hex, M8 x 20, 10.9, Full Thd

M8 x 20 class 8.8

1шт.

934309R1

LOCK WASHER,M8

WASHER, 8 mm lock

1шт.

934675R1

WASHER,M8 x 16 x 1.6

8.8 x 17 x 1.6 mm

1шт.

930294R1

BOLT,Hex, M8 x 1.25 x 30mm, Cl 8.8, Full Thd

M8 x 30 pln class 8.8

1шт.

30986R1

NUT,M8 x 1.25, Flg, Cl 8

M8 class 10 h/flg

1шт.

Выбрано товаров: 61