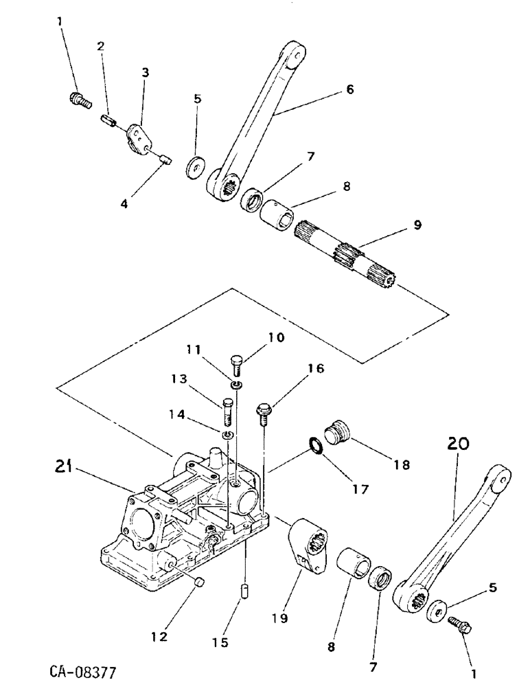
Запчасти Case IH 234 (10-16) - HYDRAULICS, REAR FRAME COVER, 234 (04) - Drive Train

Схема запчастей Case IH 234 - (10-16) - HYDRAULICS, REAR FRAME COVER, 234 (04) - Drive Train
6
5
8
9
3
19
21
20
17
15
2
12
18
4
1
13
14
7
8
5
16
1
7
10
11
FIT
1:1
100%

Артикул

Название

Примечание

Количество

1

1269790C1

BOLT,Hex M10 x 25mm

BOLT W/WASHER

2шт.

2

31116R1

LOCK PIN,M4 x 20, Slotted

PIN, 4 x 20 mm pln slt spr

1шт.

3

1269895C1

ARM

1шт.

4

1269896C1

AXLE PIN

PIN, rod guide

1шт.

5

49139D

WASHER,10.32mm ID x 38.1mm OD x 5mm Thk

1шт.

6

1269899C1

ARM

RH lift

1шт.

7

1273181C1

OIL SEAL

SEAL, oil

2шт.

8

1271800C1

BUSHING

2шт.

9

1271801C1

SHAFT HOUSING

SHAFT

1шт.

10

1271802C1

BOLT,Hex, M8 x 1.25 x 16mm

BOLT

2шт.

934675R1

WASHER,M8 x 16 x 1.6

8.8 x 17 x 1.6 mm

2шт.

11

1275284C1

SEALING WASHER

SEAL, washer

2шт.

12

1271803C1

PLUG

1шт.

13

1269772C1

BOLT,Hex, M10 x 1.25 x 100mm, Half Thd

half thread

1шт.

14

933965R1

LOCK WASHER,M10

1шт.

15

30346R1

DOWEL,M10 x 20

PIN, 10 x 20 mm pln hdn dowel

2шт.

16

1269778C1

BOLT

W/WASHER

7шт.

17

1269873C1

O-RING

O-RING

1шт.

18

1271804C1

PLUG

1шт.

19

1271805C1

FORK TEDDER

FORK, lift

1шт.

932479R1

COTTER PIN,M5 x 50

PIN, 5 x 50 mm pln cot.

1шт.

20

1269898C1

ARM

LH lift

1шт.

21

1269677C1

CASE

hydraulic

1шт.

Выбрано товаров: 23