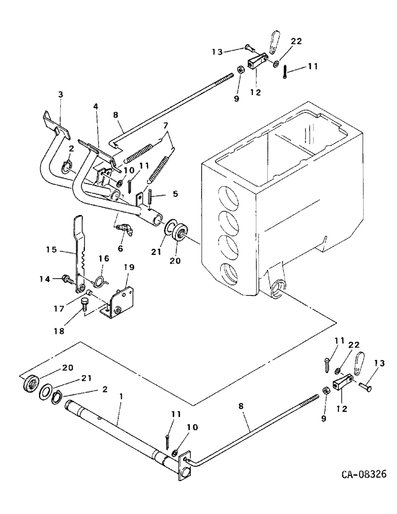
Запчасти Case IH 254 (04-04) - BRAKES, BRAKE CONTROLS, 244 AND 254 (5.1) - BRAKES

Схема запчастей Case IH 254 - (04-04) - BRAKES, BRAKE CONTROLS, 244 AND 254 (5.1) - BRAKES
16
15
11
8
2
13
12
5
10
3
19
12
21
9
14
9
22
22
20
10
20
2
8
1
11
6
4
11
17
7
13
11
18
21
FIT
1:1
100%

Артикул

Название

Примечание

Количество

1

1269816C1

SHAFT HOUSING

SHAFT

1шт.

2

933128R1

SNAP RING,M25, Ext

RING, 23.41 mm ext ret

2шт.

3

1269817C1

PEDAL

RH brake

1шт.

4

1269818C1

PEDAL

LH brake

1шт.

5

30332R1

LOCK PIN,M8 x 40 Slotted

PIN, 8 x 40 mm pln slt spr

1шт.

6

80711

LUBE NIPPLE,65 Degree, 1/8" NPT x 7/8" lg

FITTING, 1/8 PTF short 65D lub

1шт.

7

1269808C1

VALVE SPRING

SPRING

2шт.

8

1269823C1

ROD

2шт.

9

825-11410

NUT,M10 x 1.25, Cl 8

2шт.

10

30282R1

WASHER,M10 x 20 x 2

10.8 x 21 x 2 mm

2шт.

11

932952R1

COTTER PIN,M2 x 20

PIN, 2 x 20 mm pln cot.

4шт.

12

1269813C1

YOKE

2шт.

13

30569R1

CLEVIS PIN,M8 x 25

PIN, 8 x 25 mm PHC clevis

2шт.

14

930294R1

BOLT,Hex, M8 x 1.25 x 30mm, Cl 8.8, Full Thd

M8 x 30 pln class 8.8

1шт.

934309R1

LOCK WASHER,M8

WASHER, 8 mm lock

1шт.

934675R1

WASHER,M8 x 16 x 1.6

8.8 x 17 x 1.6 mm

1шт.

15

1269819C1

RATCHET

parking

1шт.

16

1269820C1

VALVE SPRING

SPRING

1шт.

17

1269821C1

SPACER

ratchet

1шт.

18

814-8016

BOLT,Hex, M8 x 1.25 x 16mm, Cl 8.8, Full Thd

2шт.

934309R1

LOCK WASHER,M8

WASHER, 8 mm lock

2шт.

19

1275133C1

BRACKET

2шт.

20

1273180C1

OIL SEAL

SEAL, oil

2шт.

21

30180R1

WASHER,M24 x 44.5 x 5, HT

25.8 x 44 x 5 mm PHC

2шт.

22

934675R1

WASHER,M8 x 16 x 1.6

8.8 x 17 x 1.6 mm

2шт.

Выбрано товаров: 25