Запчасти Case IH 254 (12-07) - POWER, FUEL TANK AND SUPPORTS, 244 AND 254 Power

Схема запчастей Case IH 254 - (12-07) - POWER, FUEL TANK AND SUPPORTS, 244 AND 254 Power
12
5
8
10
9
9
3
11
15
16
7
12
12
6
6
13
4
1
17
6
2
14
FIT
1:1
100%

Артикул

Название

Примечание

Количество

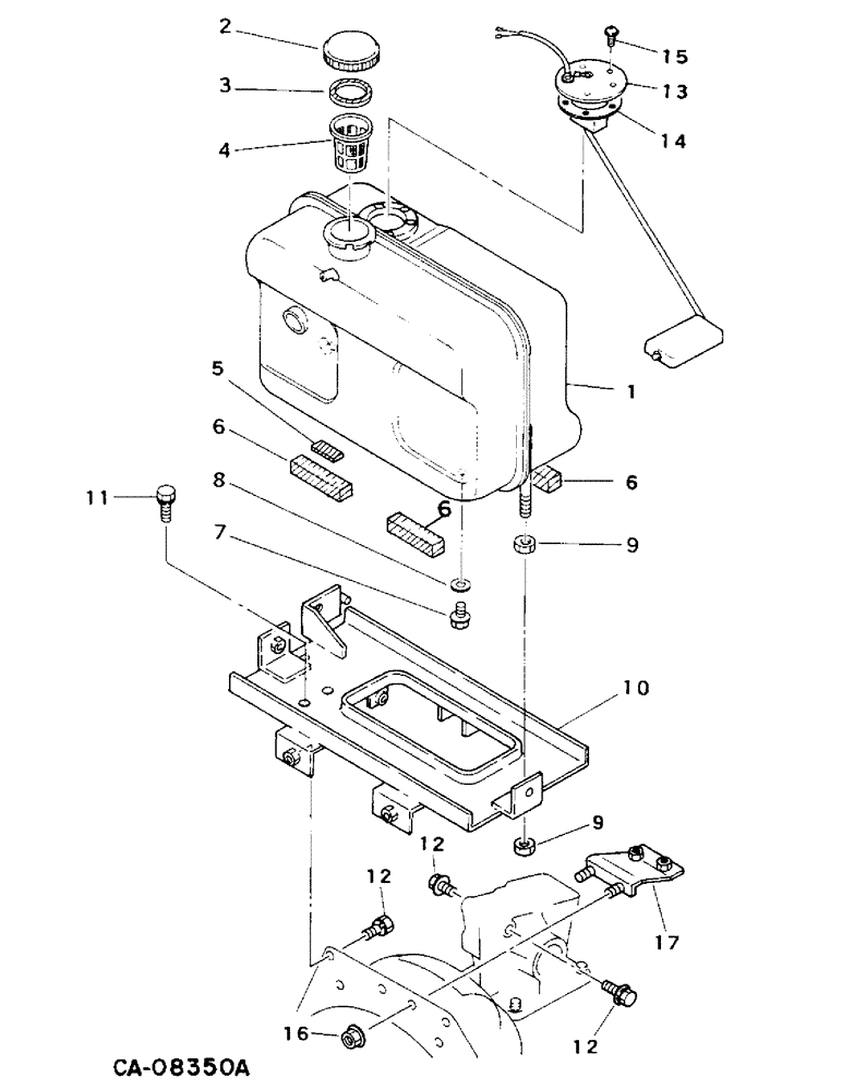
1

1273623C1

FUEL TANK

TANK, fuel

1шт.

2

1269626C1

CAP

fuel tank

1шт.

3

1269627C1

SEAL

fuel tank cap

1шт.

4

1269628C1

STRAINER ELEMENT

STRAINER

1шт.

5

1273624C1

STRIP

cushion

1шт.

6

1269636C1

STRIP

tank cushion

4шт.

7

1269630C1

BOLT,M8 x 1.25 x 12mm

BOLT, drain plug

1шт.

8

1275284C1

SEALING WASHER

SEAL, drain, replaces 1269631C1

1шт.

9

825-11410

NUT,M10 x 1.25, Cl 8

4шт.

10

1273625C1

BRACKET

tank support, manual steering

1шт.

10

1282648C1

BRACKET

tank support, replaces 1265224C1 by also ordering bracket, 1282596C1 and two nuts, 30986R1, power steering

1шт.

11

1269789C1

BOLT,Hex M10 x 20mm

BOLT W/WASHER

2шт.

12

628-8020

BOLT,Hex, M8 x 20, 10.9, Full Thd

M8 x 20 class 8.8

4шт.

934309R1

LOCK WASHER,M8

WASHER, 8 mm lock

4шт.

934675R1

WASHER,M8 x 16 x 1.6

8.8 x 17 x 1.6 mm

4шт.

13

1269633C1

GAUGE ASSY.

GAGE, fuel sending, includes ref 14

1шт.

14

1269634C1

GASKET

fuel gauge

1шт.

15

30496R1

SCREW,Cross Pan Hd, M4 x 10

M4 x 10 class 4.8 P/HDCR

5шт.

933832R1

LOCK WASHER,M4

WASHER, 4 mm lock

5шт.

30227R1

WASHER

4.3 x 9 x .8 mm pln

5шт.

16

1282596C1

BRACKET

divider, 244 w/serial no. 008343 & above, 254 w/serial no. 008294 & above

1шт.

17

30986R1

NUT,M8 x 1.25, Flg, Cl 8

M8 class 10 h/flg, 244 w/serial no. 008343 & above, 254 w/serial no. 008294 & above

1шт.

Выбрано товаров: 0