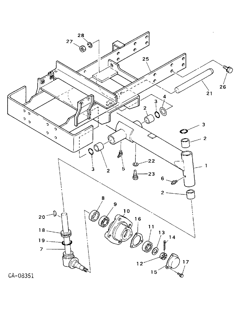
Запчасти Case IH 254 (14-11) - SUSPENSION, NON-ADJUSTABLE FRONT AXLE, 244 AND 254 Suspension

Схема запчастей Case IH 254 - (14-11) - SUSPENSION, NON-ADJUSTABLE FRONT AXLE, 244 AND 254 Suspension
11
21
3
15
2
14
2
26
13
20
16
3
28
2
10
12
17
18
22
9
3
23
8
4
1
7
27
5
6
25
2
19
FIT
1:1
100%

Артикул

Название

Примечание

Количество

1

1269750C91

AXLE

ASSY, front, includes ref no. 2

1шт.

2

1269752C1

BUSHING

6шт.

3

1269875C1

O-RING

4шт.

4

1271896C1

WASHER

SET (spacer)

1шт.

80711

LUBE NIPPLE,65 Degree, 1/8" NPT x 7/8" lg

FITTING, 1/8 PTF short 65D lub

1шт.

6

109461

LUBE NIPPLE,1/8"-27 x .66 lg

NIPPLE, LUBE, , PTF 1/8"-27 x .66 lg

2шт.

7

1271894C2

KNUCKLE JOINT

KNUCKLE, steering, manual steering

2шт.

7

1275143C1

KNUCKLE

steering, power steering

2шт.

1271894C1

KNUCKLE JOINT

1шт.

8

1271890C1

OIL SEAL

SEAL, oil

2шт.

9

1271857C91

BEARING, BALL

BEARING ASSY

2шт.

10

1271893C1

HUB

front wheel, replaces hub, 1271893C1 for 244 tractors w/serial no. 008460 and below by ordering two hubs, 1271893C1

2шт.

11

1271862C91

BEARING, BALL

BEARING ASSY

2шт.

12

1271877C1

NUT

castellated

2шт.

13

80299

WASHER,0.69" ID x 1.75" OD x 0.13" Thk

17.3 x 30 x 3mm

8шт.

14

932956R1

COTTER PIN,M4 x 40

PIN, 4 x 40mm pln cot.

2шт.

15

1269749C1

CYLINDER END CAP

CAP

2шт.

16

1271891C1

GASKET

2шт.

17

86977726

BOLT,Hex, M6 x 12mm, Cl 8.8

M6 x 12 class 8.8

6шт.

933833R1

LOCK WASHER,M6

WASHER, 6 mm lock

6шт.

18

1271899C91

BEARING, BALL,26 mm ID x 43.5 mm OD x 15.25 mm

BEARING ASSY

2шт.

19

1269880C1

O-RING

O-RING

2шт.

20

1271897C1

KEY

woodruff, manual steering

2шт.

20

1275144C1

KEY

woodruff, power steering

2шт.

21

1271898C1

PIN

axle pivot

1шт.

22

933965R1

LOCK WASHER,M10

1шт.

23

1269753C1

BOLT

BOLT, set

1шт.

24

(Not used this application)

1шт.

25

1271895C1

FRAME

front

1шт.

26

1269780C1

BOLT

W/WASHER

12шт.

27

1282721C1

NUT

replaces 1269876C1

2шт.

28

933967R1

LOCK WASHER,M14

WASHER, 14mm lock

2шт.

Выбрано товаров: 32