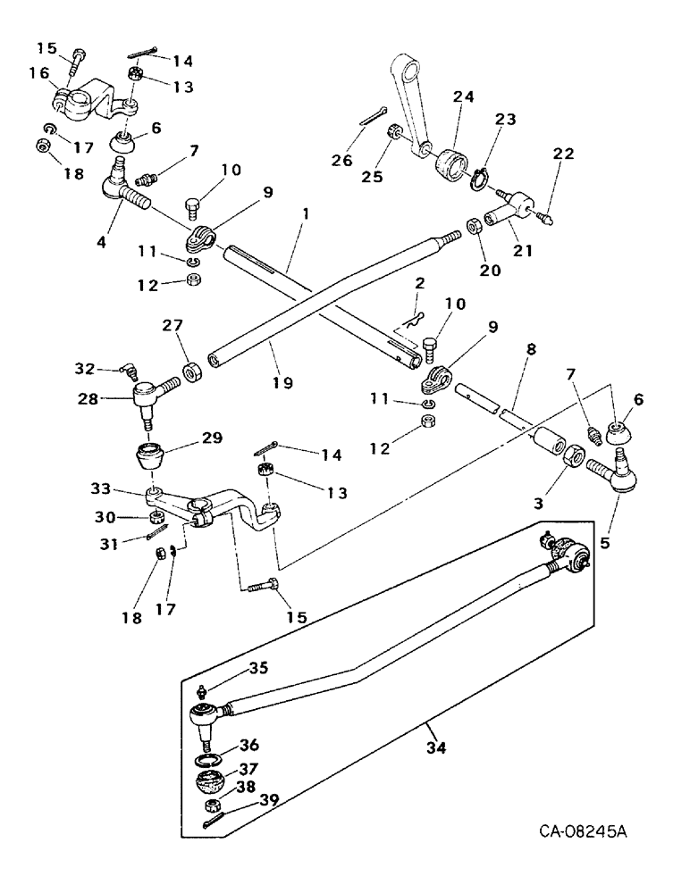
Запчасти Case IH 254 (14-17) - SUSPENSION, DRAG LINK AND TIE ROD, 254, ADJUSTABLE FRONT AXLE Suspension

Схема запчастей Case IH 254 - (14-17) - SUSPENSION, DRAG LINK AND TIE ROD, 254, ADJUSTABLE FRONT AXLE Suspension
20
18
15
36
16
3
26
18
24
21
10
30
27
11
22
17
34
29
32
4
9
10
5
23
7
12
14
12
6
8
39
31
35
2
37
25
33
6
11
38
28
7
9
14
19
1
17
13
15
13
FIT
1:1
100%

Артикул

Название

Примечание

Количество

1

1273646C1

SHAFT HOUSING

SHAFT, outer tie rod

1шт.

2

1273647C1

AXLE PIN

PIN, snap

1шт.

3

1273545C1

NUT

1шт.

4

1273546C91

END ASSY.

END ASSY, tie rod RH, includes ref nos 6, 7, 13 & 14

1шт.

5

1273547C91

END ASSY.

END ASSY, tie rod LH, includes ref nos 6, 7, 13 & 14

1шт.

6

1273548C1

COVER ASSY

COVER, dust

2шт.

7

1273649C1

FITTING

M6 lube

2шт.

8

1273653C1

ROD

inner tie

1шт.

9

1273654C1

CLAMP

tie rod

2шт.

10

30004R1

BOLT,Hex, M8 x 1.25 x 30mm, Cl 10.9, Full Thd

M8 x 30 PHC class 10.9

2шт.

11

934309R1

LOCK WASHER,M8

WASHER, 8 mm lock

2шт.

12

30167R1

NUT,M8, Cl 10

M8 PHC class 10

2шт.

13

1273549C1

NUT

2шт.

14

934792R1

COTTER PIN,M3.2 x 20

PIN, 3.2 x 20mm pln cot.

2шт.

15

1269766C1

BOLT,Hex, M10 x 1.25 x 60mm, Cl 8.8

knuckle arm, 244 w/serial no. 008460 & below, 254 w/serial no. 008386 & below

2шт.

15

30027R1

BOLT,Hex, M10 x 1.5 x 60mm, Cl 10.9

M10 x 60 PHC class 10.9, 244 w/serial no. 008461 & above, 254 w/serial no. 008387 & above

2шт.

16

1273551C1

ARM

RH knuckle

1шт.

933965R1

LOCK WASHER,M10

2шт.

18

825-11410

NUT,M10 x 1.25, Cl 8

Knuckle arm bolt, 244 w/serial no. 008460 & below, 254 w/serial no. 008386 & below M10 x 1.25, Cl 8

2шт.

18

30284R1

NUT,M10, Cl 10

M10 class 10, 244 w/serial no. 008461 & above, 254 w/serial no. 008387 & above

2шт.

19

1273659C1

ROD

drag link

1шт.

Tractors without power steering

1шт.

20

825-11412

NUT,M12 x 1.25, Cl 8

1шт.

Tractors without power steering

1шт.

21

1273539C91

END ASSY.

END ASSY, drag link, includes ref nos 22 - 26

1шт.

Tractors without power steering

1шт.

22

1273649C1

FITTING

M6 lube

1шт.

Tractors without power steering

1шт.

23

1273528C1

RING

snap

1шт.

Tractors without power steering

1шт.

24

1273527C1

COVER ASSY

COVER, dust

1шт.

Tractors without power steering

1шт.

25

1271875C1

NUT

castellated

1шт.

Tractors without power steering

1шт.

26

934793R1

COTTER PIN,M3.2 x 25

PIN, 3.2 x 25mm pln cot.

1шт.

Tractors without power steering

1шт.

27

1273545C1

NUT

1шт.

Tractors without power steering

1шт.

28

1273650C91

END

ASSY, drag link, includes ref nos 29 thru 32

1шт.

Tractors without power steering

1шт.

29

1273548C1

COVER ASSY

COVER, dust

1шт.

Tractors without power steering

1шт.

30

1273549C1

NUT

1шт.

Tractors without power steering

1шт.

31

934792R1

COTTER PIN,M3.2 x 20

PIN, 3.2 x 20mm pln cot.

1шт.

Tractors without power steering

1шт.

32

1273658C1

FITTING

lube

1шт.

Tractors without power steering

1шт.

33

1273550C1

ARM

LH knuckle

1шт.

34

1282822C91

ROD

ASSY, drag link, tractors with power steering

1шт.

35

1273649C1

FITTING

M6 lube

2шт.

Tractors with power steering

1шт.

36

1275164C1

RING

snap

2шт.

Tractors with power steering

1шт.

37

1275165C1

COVER ASSY

COVER, dust

2шт.

Tractors with power steering

1шт.

38

1275160C1

NUT

castellated

2шт.

Tractors with power steering

1шт.

39

934792R1

COTTER PIN,M3.2 x 20

PIN, 3.2 x 20mm pln cot.

2шт.

Tractors with power steering

1шт.

Выбрано товаров: 60