Запчасти Case IH 254 (14-19) - SUSPENSION, FRONT AXLE, FOUR WHEEL DRIVE, 244 AND 254 Suspension

Схема запчастей Case IH 254 - (14-19) - SUSPENSION, FRONT AXLE, FOUR WHEEL DRIVE, 244 AND 254 Suspension
21
19
50
23
18
5
1
14
42
18
24
48
17
29
15
38
39
22
24
3
15
9
49
34
28
6
26
19
46
15
4
47
13
36
22
40
25
35
23
27
31
7
16
37
6
11
25
5
33
30
16
20
7
44
10
12
5
32
2
8
43
41
12
16
FIT
1:1
100%

Артикул

Название

Примечание

Количество

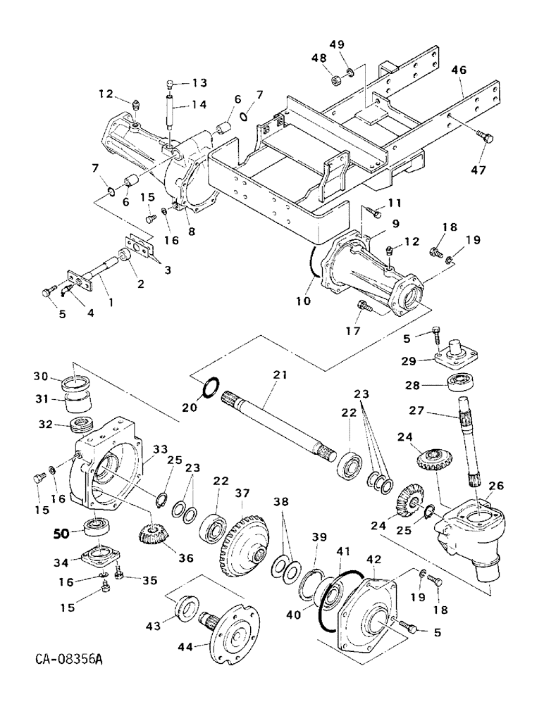
1

1273224C1

SHAFT

center

1шт.

2

1273223C1

SPACER

collar

1шт.

3

1273282C1

SHIM

SET

1шт.

4

80711

LUBE NIPPLE,65 Degree, 1/8" NPT x 7/8" lg

FITTING, 1/8 PTF short 65D lub

1шт.

5

1269763C1

BOLT

20шт.

933965R1

LOCK WASHER,M10

20шт.

6

1269752C1

BUSHING

2шт.

7

1269875C1

O-RING

2шт.

8

1273219C91

CENTER AXLE

HOUSING ASSY, RH, includes ref no. 6

1шт.

9

1273222C1

HOUSING

LH

1шт.

10

1269889C1

O-RING

O-RING

1шт.

11

1269777C1

BOLT,M10 x 30mm

W/WASHER

8шт.

12

103885

PLUG,Slotted, 3/8" NPT

3/8 pln slt/hdl pipe

2шт.

13

1273287C1

PLUG

vent

1шт.

14

1273288C1

VENTILATION PIPE,13 mm Diameter, 110 mm Length

TUBE, vent plug

1шт.

15

1269630C1

BOLT,M8 x 1.25 x 12mm

BOLT, housing drain plug

5шт.

16

1275284C1

SEALING WASHER

SEAL, drain, replaces 1269631C1

5шт.

17

1269777C1

BOLT,M10 x 30mm

W/WASHER

10шт.

18

1273202C1

BOLT,Hex, M10 x 1.25 x 35mm

BOLT

4шт.

19

933965R1

LOCK WASHER,M10

4шт.

20

1269887C1

O-RING

O-RING

2шт.

21

1273218C2

SHAFT HOUSING

SHAFT

2шт.

22

1271864C91

CRANKSHAFT BEARING

BEARING ASSY

4шт.

23

1273217C1

SHIM

SET

1шт.

24

1288023C1

GEAR WHEEL

GEAR, 15 teeth, replaces gear, 1273216C1 on 244 tractors w/serial no. 008460 and below, 254 tractors w/serial no. 008386 and below by ordering two gears, 1288023C1

4шт.

25

933128R1

SNAP RING,M25, Ext

RING, 22.78 mm ext ret

4шт.

26

1273215C1

CASE

king pin

2шт.

27

1273214C2

SHAFT HOUSING

SHAFT

2шт.

28

1271862C91

BEARING, BALL

BEARING ASSY

2шт.

29

1273213C1

NOZZLE HOLDER

HOLDER, bearing

2шт.

30

1273212C1

OIL SEAL

SEAL, oil

2шт.

31

1273227C1

SPACER

bushing

2шт.

32

1271869C91

THRUST BEARING

ASSY

2шт.

33

1273209C91

CASE

ASSY, gear, includes ref no. 31

2шт.

34

1273161C1

COVER ASSY

COVER

2шт.

35

628-8020

BOLT,Hex, M8 x 20, 10.9, Full Thd

M8 x 20 class 8.8

2шт.

934309R1

LOCK WASHER,M8

WASHER, 8 mm lock

2шт.

36

1273207C1

GEAR WHEEL

GEAR, 12T

2шт.

37

1273208C1

GEAR WHEEL

GEAR, 32T bevel

2шт.

38

1273206C1

SHIM

SET

1шт.

39

933076R1

SNAP RING,M72, Int

RING, 65.74 mm int ret (replaces 933108R1)

2шт.

40

1271866C91

BALL BEARING

ASSY

2шт.

41

1269888C1

O-RING

O-RING

2шт.

42

1273205C1

COVER ASSY

COVER

2шт.

43

1273188C1

OIL SEAL

OIL SEAL

2шт.

44

1273204C1

SHAFT HOUSING

SHAFT, wheel

2шт.

45

(Not used in this application)

1шт.

46

1273203C1

FUNNEL

FRAME, front

1шт.

47

1269780C1

BOLT

W/WASHER

12шт.

48

1282721C1

NUT

replaces 1269786C1

2шт.

49

933967R1

LOCK WASHER,M14

WASHER, 14mm lock

2шт.

50

1288022C91

BEARING, BALL

BEARING ASSY

2шт.

Выбрано товаров: 52