Запчасти Case IH 254 (05-07) - STEERING, STEERING GEAR, STEERING WHEEL, PITMAN ARM AND SUPPORTS, 244 AND 254 WITH POWER STEERING (04) - STEERING

Схема запчастей Case IH 254 - (05-07) - STEERING, STEERING GEAR, STEERING WHEEL, PITMAN ARM AND SUPPORTS, 244 AND 254 WITH POWER STEERING (04) - STEERING
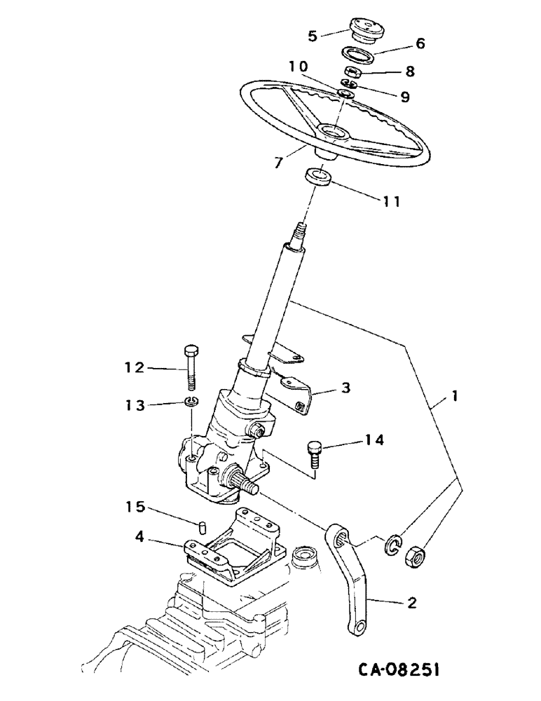
5
11
8
15
10
6
3
14
9
1
7
13
12
4
2
FIT
1:1
100%

Артикул

Название

Примечание

Количество

1

1275145C91

BOX

STEERING GEAR BOX ASSY, for components, see detail list

1шт.

2

1273689C1

ARM

pitman

1шт.

3

1273690C1

SUPPORT ASSY.

HOLDER, steering gear

1шт.

4

1273691C1

BRACKET

SUPPORT, steering gear

1шт.

5

1273228C1

CAP

steering wheel

1шт.

6

1273230C1

RING

cap

1шт.

7

1273232C1

WHEEL

steering

1шт.

8

1282721C1

NUT

wheel, replaces 1269786C1

1шт.

9

933967R1

LOCK WASHER,M14

WASHER, 14 mm lock

1шт.

10

30408R1

WASHER,M12 x 28.5 x 3, HT

15.3 x 28 x 3 mm PHC

1шт.

11

1273231C1

COVER ASSY

COVER, steering gear

1шт.

12

1269772C1

BOLT,Hex, M10 x 1.25 x 100mm, Half Thd

steering gear

2шт.

13

933965R1

LOCK WASHER,M10

2шт.

14

1269777C1

BOLT,M10 x 30mm

W/WASHER

6шт.

15

30346R1

DOWEL,M10 x 20

PIN, 10 x 20 mm PLN HDN dowel

2шт.

Выбрано товаров: 15