Запчасти Case IH 254 (13-11) - SUPERSTRUCTURE, STEPS AND SUPPORT, 244 AND 254 (05) - SUPERSTRUCTURE

Схема запчастей Case IH 254 - (13-11) - SUPERSTRUCTURE, STEPS AND SUPPORT, 244 AND 254 (05) - SUPERSTRUCTURE
2
4
4
13
10
7
18
10
6
7
21
11
5
20
10
17
12
16
10
14
1
10
9
19
10
10
10
13
9
17
8
3
8
3
15
13
FIT
1:1
100%

Артикул

Название

Примечание

Количество

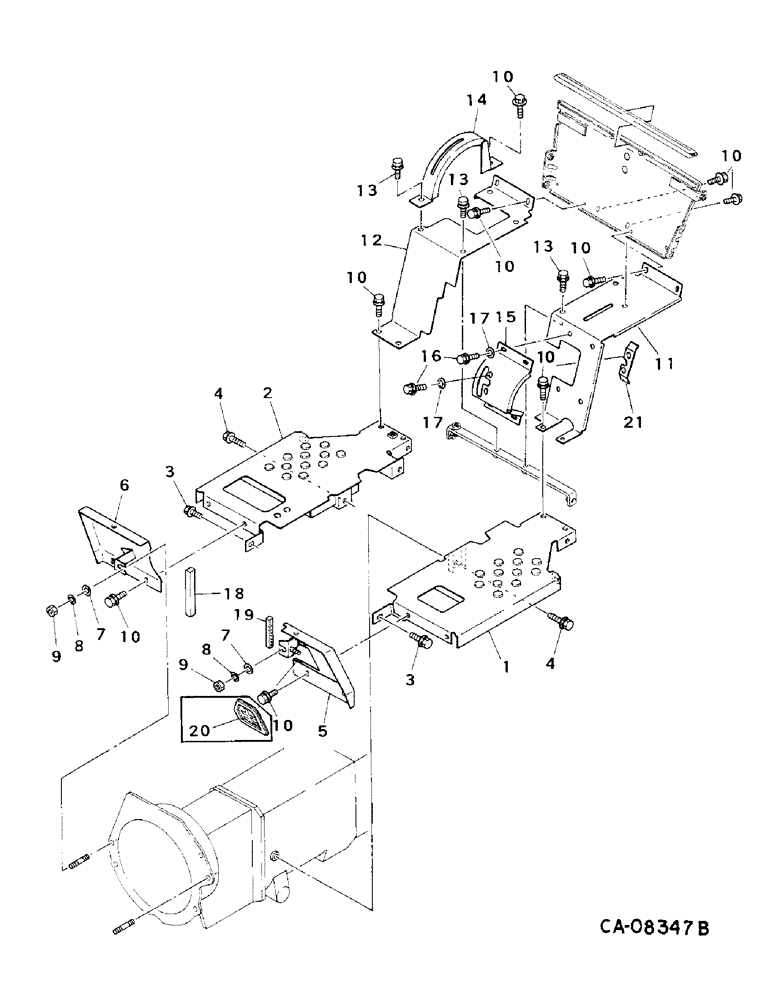
1

1269687C1

PLATE

LH step

1шт.

1

1282598C1

STEP

PLATE, LH step, synchromesh transmission only

1шт.

2

1273584C1

PLATE ASSY.

PLATE, RH step

1шт.

3

1269762C1

BOLT,Hex, M10 x 1.25 x 20mm

BOLT

2шт.

933965R1

LOCK WASHER,M10

2шт.

30282R1

WASHER,M10 x 20 x 2

10.8 x 21 x 2mm

2шт.

4

1269763C1

BOLT

4шт.

933965R1

LOCK WASHER,M10

4шт.

30282R1

WASHER,M10 x 20 x 2

10.8 x 21 x 2mm

4шт.

5

1288274C1

SUPPORT ASSY.

SUPPORT, LH step plate, replaces 1273585C2 and 1273433C1 by also ordering nut, 30167R1, washer, 934309R1 and washer, 934675R1

1шт.

6

1273586C1

SUPPORT ASSY.

SUPPORT, RH step plate

1шт.

7

933587R1

WASHER,M12 x 24 x 2.5

13.3 x 24 x 2.5mm

2шт.

8

933966R1

LOCK WASHER,M12

WASHER, 12mm lock

2шт.

9

30167R1

NUT,M8, Cl 10

M8 PHC class 10

2шт.

10

814-8016

BOLT,Hex, M8 x 1.25 x 16mm, Cl 8.8, Full Thd

17шт.

934309R1

LOCK WASHER,M8

WASHER, 8 mm lock

17шт.

934675R1

WASHER,M8 x 16 x 1.6

8.8 x 17 x 1.6mm

17шт.

11

1273587C2

SUPPORT

LH console

1шт.

12

1282599C1

COVER

SUPPORT, RH console, replaces 1269692C1

1шт.

13

43127

BOLT,Hex, M8 x 1.25 x 25mm, Cl 8.8

3шт.

934309R1

LOCK WASHER,M8

WASHER, 8 mm lock

3шт.

934675R1

WASHER,M8 x 16 x 1.6

8.8 x 17 x 1.6mm

3шт.

14

1273510C1

GUIDE

control lever

1шт.

Ref. 14 IF USING THE C3 VERSION OF THIS PART NUMBER IN A 234, 244, 254 TRACTOR REFER TO A 245 OR 255 TRACTOR CATALOG FOR ADDITIONAL BRACKET AND HARDWARE THAT YOU WILL NEED TO ORDER.

1шт.

15

1282579C1

COVER

LH control

1шт.

16

86977726

BOLT,Hex, M6 x 12mm, Cl 8.8

M6 x 12 class 8.8

6шт.

933833R1

LOCK WASHER,M6

WASHER, 6 mm lock

4шт.

17

30325R1

WASHER,M6 x 13 x 2, HT

- M6 x 13 x 2, HT

6шт.

18

1273588C1

SEAL

SEAL, edge rubber

1шт.

19

1273621C1

BAND

SEAL, edge rubber

1шт.

20

1273590C1

PLATE

rubber, 244 tractors w/serial no. 9016 and below, 254 tractors w/serial no. 8778 and below

1шт.

21

1282580C1

GUIDE

neutral

1шт.

Выбрано товаров: 32