Запчасти Case IH 254 (10-08) - HYDRAULICS, FLOW DIVIDER VALVE (07) - HYDRAULICS

Схема запчастей Case IH 254 - (10-08) - HYDRAULICS, FLOW DIVIDER VALVE (07) - HYDRAULICS
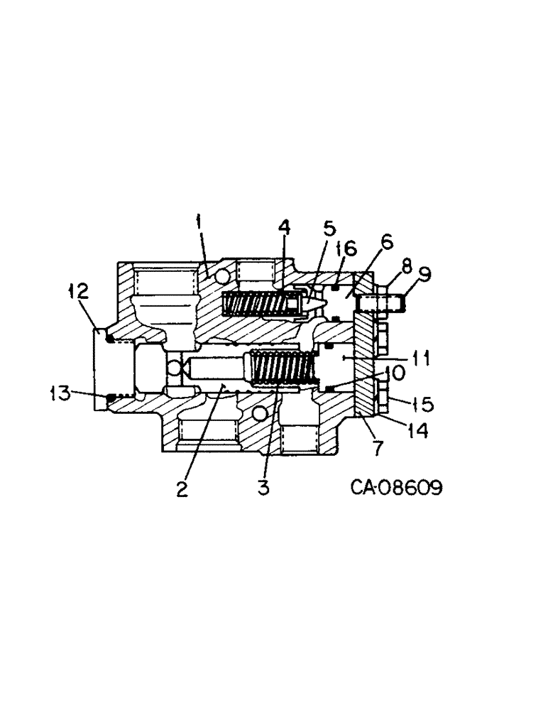
6
5
3
15
9
8
7
10
4
11
13
2
1
14
12
16
FIT
1:1
100%

Артикул

Название

Примечание

Количество

1275156C91

LOCK VALVE

VALVE ASSY, flow divider

1шт.

1

BODY, valve, order flow divider valve assy (NSS)

1шт.

2

PLUNGER, valve, order flow divider valve assy (NSS)

1шт.

3

1282772C1

VALVE SPRING

SPRING, plunger

1шт.

4

1282773C1

VALVE SPRING

SPRING, poppet valve

1шт.

5

1288251C1

LOCK VALVE

VALVE, poppet, replaces 1282774C1

1шт.

6

1282775C1

HOUSING

1шт.

7

1282776C1

PLATE ASSY.

PLATE

1шт.

8

1282766C1

NUT

1шт.

9

1282777C1

SET SCREW,Hex Skt, M8 x 1.25 x 20mm

SCREW, set

1шт.

10

1269871C1

O-RING,17.8mm ID x 2.4mm Width

1шт.

11

1282778C1

PLUG

1шт.

12

1288252C1

PLUG

replaces 1282779C1

1шт.

13

1282780C1

O-RING

O-RING

1шт.

14

934309R1

LOCK WASHER,M8

WASHER, 8 mm lock

5шт.

15

628-8020

BOLT,Hex, M8 x 20, 10.9, Full Thd

M8 x 20 class 8.8

4шт.

16

1282749C1

O-RING

O-RING

1шт.

Выбрано товаров: 17