Качественные детали и логистика
Оригинальные и аналоговые запчасти с доставкой по России, Казахстану и Беларуси
©2022 PartSell ООО "Система" ИНН 2463123282 ОГРН 1212400004838
Центральный офис: г. Красноярск, Академика Киренского, д.87, пом.4
Телефон: 8 (800) 777-65-74 Email: zakaz@partsell.ru
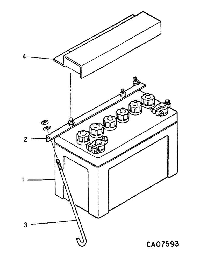
(08-01) - ELECTRICAL, BATTERY AND BATTERY TRAY
№
Артикул
Название
Примечание
Количество
1
IHMF27
BATTERY, 12 volt (70 amp)
1шт.
2
1432377R1
HOLDER
battery
3
1004830C2
BOLT
hanger
2шт.
15896221
NUT,Hex, M6, 5.20mm High, Cl 10
25707R1
WASHER,.281" x 5/8" x .075", HDN
.281 x .625 x .072 hdn
4
1432366R1
COVER
1060519C1
NUT
M6 wing
1004596C1
WASHER
nylon
Выбрано товаров: 0