Запчасти Case IH 274 (10-01) - HYDRAULICS, HYDRAULIC CONTROLS (07) - HYDRAULICS

Схема запчастей Case IH 274 - (10-01) - HYDRAULICS, HYDRAULIC CONTROLS (07) - HYDRAULICS
3
6
7
13
13
5
8
4
11
6
1
5
2
9
14
12
4
10
12
FIT
1:1
100%

Артикул

Название

Примечание

Количество

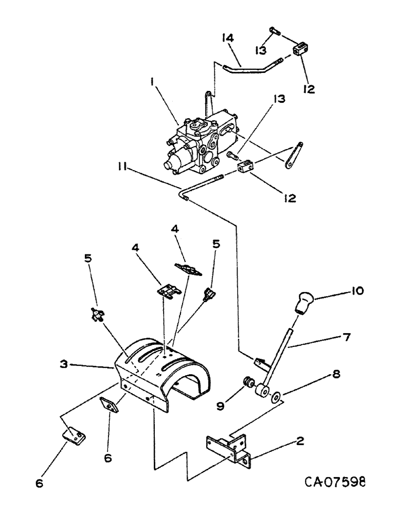
1

1061167C91

VALVE

ASSY, hydraulics control for components see detail list

1шт.

1014919C1

BOLT

M8 x 90

3шт.

897948C1

WASHER

M8 lock

3шт.

2

1060840C2

BRACKET

1шт.

3

1430724R3

GUIDE

lever

1шт.

1014739C1

FLANGE BOLT,Hex, M6 x 12mm

BOLT, M6 x 12

2шт.

980021C1

WASHER

M6 x M14 x M.8

2шт.

1012979C1

BOLT

M10 x 16

1шт.

4

1432014R2

HINGE

2шт.

1014739C1

FLANGE BOLT,Hex, M6 x 12mm

BOLT, M6 x 12

4шт.

15896221

NUT,Hex, M6, 5.20mm High, Cl 10

4шт.

978085C1

WASHER

M6 x M11.5 x M0.8

4шт.

5

1500369C1

KNOB

KNOB, replaces 531340R1

2шт.

6

1060842C1

PLATE

2шт.

7

1060837C1

LEVER

1шт.

1012729C1

WASHER

M12 x M26 x M3.2

1шт.

1014942C1

NUT

M12

1шт.

1057860C1

BOLT, M12 x 55

1шт.

8

1060839C1

GASKET

1шт.

9

1004800C1

SPRING

coned disc

2шт.

10

1064560C1

KNOB

black

1шт.

11

1431613R1

ROD

1шт.

12

979839C1

YOKE

rod

2шт.

13

1062601C1

PIN

yoke

2шт.

978085C1

WASHER

M6 x M11.5 x M0.8

4шт.

1064813C1

PIN

1.4 x 10 cot

4шт.

14

1060834C3

ROD

1шт.

Выбрано товаров: 27