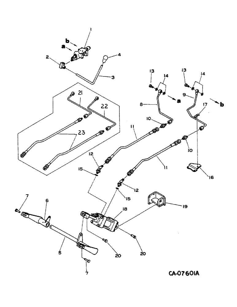
Запчасти Case IH 274 (10-07) - HYDRAULICS, CULTIVATOR CONTROL (07) - HYDRAULICS

Схема запчастей Case IH 274 - (10-07) - HYDRAULICS, CULTIVATOR CONTROL (07) - HYDRAULICS
16
23
11
20
7
21
12
5
19
15
3
2
7
14
20
18
10
10
15
13
1
6
9
14
12
22
11
4
13
17
8
FIT
1:1
100%

Артикул

Название

Примечание

Количество

1

1061168C91

VALVE

ASSY, auxilary for components see details list

1шт.

2

1060841C1

YOKE

1шт.

3

1060838C1

LEVER

1шт.

1019440C1

PIN, ROLL

PIN, 5 x 20 spring

1шт.

4

1064560C1

KNOB

black

1шт.

5

1061058C1

SHAFT

LEVER, LH, serial no. 008365 and below

1шт.

5

1434122R1

LEVER

LH, serial no. 008366 and above

1шт.

6

1061051C1

LEVER

RH, serial no. 008365 and below

1шт.

6

1434121R1

LEVER

RH, serial no. 008366 and above

1шт.

1019448C1

PIN, 10 x 50 spring

1шт.

1060763C1

KEY

7 x 7 x 32

1шт.

7

1061057C1

PIN

S/N 008365 and below

2шт.

1434152R1

PIN

S/N 008366 and above

2шт.

1057852C1

PIN, 14 x 53 spring

2шт.

8

1431758R1

TUBE

ASSY, S/N 008365 and below

1шт.

9

1431759R1

TUBE

ASSY, S/N 008366 and above

1шт.

10

1431756R1

UNION

30 x 37, serial no. 008329 and below

2шт.

11

1061816C1

HOSE

SHOE ASSY, serial no. 008330 and above

2шт.

DESCRIPTION IS SHOE. PART NUMBER IS CORRECT - DESCRIPTION SHOULD BE HOSE.

1шт.

12

1430616R92

ELBOW

ASSY

2шт.

13

974112C1

FITTING,Hex, 30mm, Drilled

BOLT, joint

2шт.

14

973254C1

GASKET

4шт.

15

1017790C1

O-RING

2шт.

16

1061887C1

BRACKET, serial no. 008365 and below

1шт.

17

1061888C1

CLIP

1шт.

980675C1

BOLT, M6 x 25

1шт.

25532R1

WASHER

.281 x .625 x .625 phc hdn

1шт.

18

1059984C91

CYLINDER

ASSY, hydraulic for components see detail list

1шт.

19

1060992C2

BRACKET

1шт.

1104956C1

BOLT

M10 x 25

4шт.

20

1430639R1

PIN, 20 x 60

2шт.

1430658R1

WASHER, M21 x M40 x M3.2

2шт.

1430659R1

PIN, 4.6 x 30 cot

2шт.

21

1434072R1

TUBE

ASSY, serial no. 008366 and above

1шт.

22

1434070R1

TUBE

ASSY, serial no. 008366 and above

1шт.

23

1434442R1

HOSE

ASSY, serial no. 008330 and above

2шт.

Выбрано товаров: 36