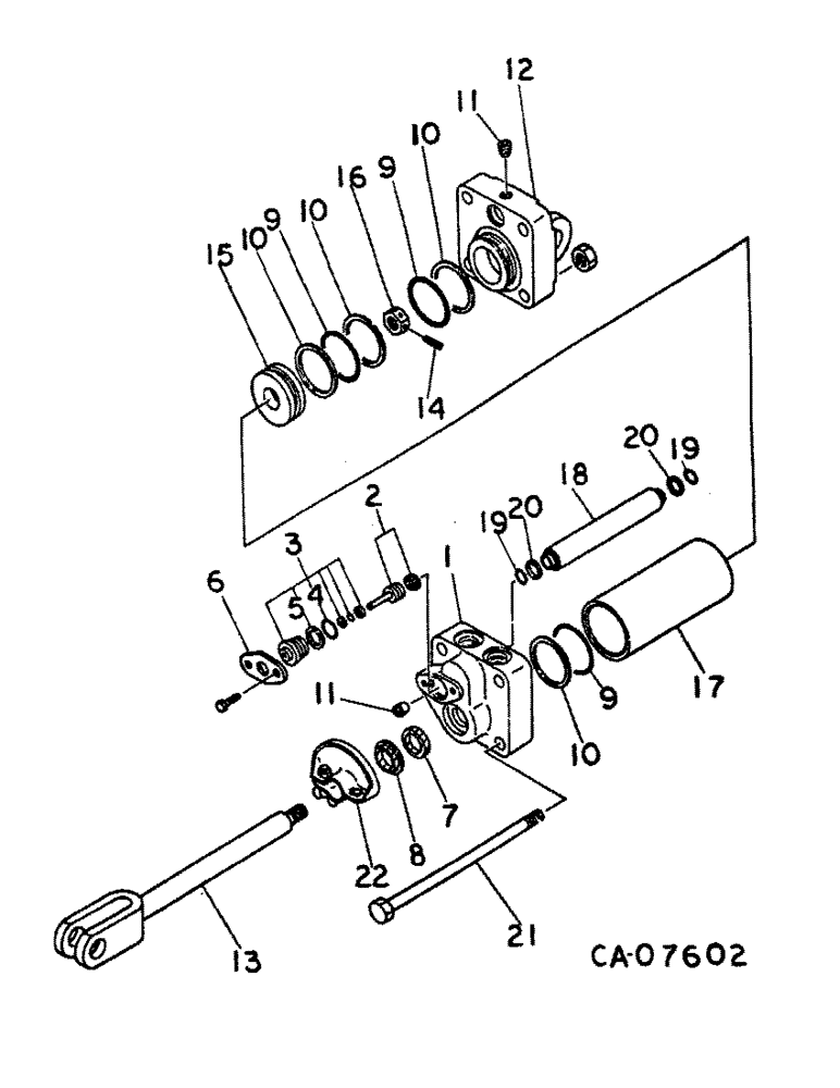
Запчасти Case IH 274 (10-09) - HYDRAULICS, CULTIVATOR HYDRAULIC CYLINDER (07) - HYDRAULICS

Схема запчастей Case IH 274 - (10-09) - HYDRAULICS, CULTIVATOR HYDRAULIC CYLINDER (07) - HYDRAULICS
16
10
17
6
9
15
7
11
14
19
10
13
12
21
10
9
19
9
4
22
20
11
20
1
3
18
10
2
5
8
FIT
1:1
100%

Артикул

Название

Примечание

Количество

1059984C91

CYLINDER

ASSY, hydraulic

1шт.

1

HEAD, front (NSS)

1шт.

2

1432453R91

VALVE

ASSY, limit

1шт.

3

1432454R91

RETAINER

ASSY

1шт.

4

1061097C1

RING

O-RING

1шт.

5

1061098C1

RING

1шт.

6

1059997C1

PLATE

1шт.

980495C1

SCREW

BOLT, M6 x 12

2шт.

7

1432027R1

SEAL

oil

1шт.

8

1061096C1

SEAL

1шт.

9

1060968C1

OIL SEAL

O-RING

3шт.

10

1060969C1

OIL SEAL

RING, back-up

4шт.

11

PLUG (NSS)

2шт.

12

HEAD, rear (NSS)

1шт.

1432455R1

PISTON

ASSY, composed of

1шт.

13

ROD, piston (NSS)

1шт.

14

1432456R1

PIN

spring

1шт.

15

1059989C1

PISTON

1шт.

16

NUT (NSS)

1шт.

17

TUBE, cylinder (NSS)

1шт.

18

TUBE, cylinder return (NSS)

1шт.

19

1017790C1

O-RING

2шт.

20

1059151C1

OIL SEAL

O-RING

2шт.

21

1059992C1

BOLT

4шт.

1014942C1

NUT

M12

4шт.

22

1430523R1

TRIP

valve

1шт.

Выбрано товаров: 26