Запчасти Case IH 184 (07-05) - DRIVE TRAIN, CLUTCH AND CONTROLS, 184 TRACTOR (04) - Drive Train

Схема запчастей Case IH 184 - (07-05) - DRIVE TRAIN, CLUTCH AND CONTROLS, 184 TRACTOR (04) - Drive Train
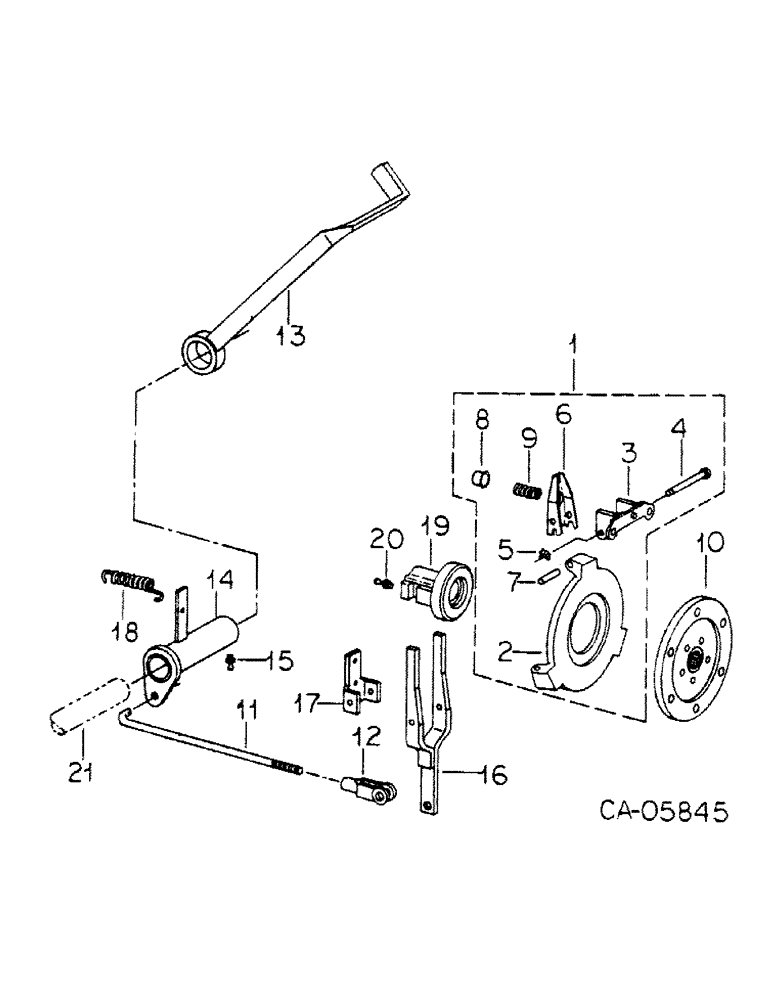
1
21
7
16
11
10
3
2
20
9
15
18
13
5
14
19
12
8
4
6
17
FIT
1:1
100%

Артикул

Название

Примечание

Количество

1

64794C92

PLATE

ASSY, clutch pressure

1шт.

179816

BOLT,Hex, 5/16" - 18 x 3/4", Gr 5

6шт.

103320

LOCK WASHER,5/16"

WASHER, LOCK, 5/16"

6шт.

2

405982R1

PLATE

pressure

1шт.

3

405983R1

BRACKET

lever

3шт.

4

60342C1

PIN

clevis

3шт.

5

60343C1

RING

ret.

3шт.

6

73239C1

LEVER

RELEASE

3шт.

7

405986R1

PIN

pressure plate

3шт.

8

73640C1

CUP

spring

3шт.

9

73641C1

SPRING

pressure

3шт.

10

404640R93

DISC

ASSY, clutch driven

1шт.

11

117251C1

ROD

clutch

1шт.

95-11041

WASHER,3/8"

(.406 x .812 x .051 pln) 3/8"

1шт.

103384

COTTER PIN,1/8" x 3/4"

Pin, Split (Cotter), 1/8" x 3/4"

1шт.

12

144243

CLEVIS

rod end

1шт.

138084

SPLIT PIN/SAFETY PIN

PIN, 3/8 x 1.060 clevis

1шт.

103373

COTTER PIN,3/32" x 3/4"

Pin, Split (Cotter), 3/32" x 3/4"

1шт.

13

132130C1

PEDAL ASSY, clutch

1шт.

178-57

SET SCREW,Hex Soc, 3/8"-16 x 3/4"

SCREW, 3/4" (replaces 27767R1)

1шт.

124829

JAM NUT,Hex, 3/8" - 16, Gr 5

1шт.

14

117237C1

TUBE ASSY, clutch pedal 164 mm Length

1шт.

15

86636814

LUBE NIPPLE,1/4"-28 x .52" lg

FITTING, lubrication

1шт.

16

117529C2

YOKE

ASSY, clutch

1шт.

120393

BEARING WASHER,5/16", SAE

WASHER, .344 x .68 x .051

1шт.

103384

COTTER PIN,1/8" x 3/4"

Pin, Split (Cotter), 1/8" x 3/4"

1шт.

932357R1

HEADED PIN,5/16" x 3"

PIN, 5/16 x 3 pln hd type 5

1шт.

17

117248C1

BRACKET

clutch yoke

1шт.

18

117252C1

SPRING

clutch return

1шт.

19

117244C1

SLEEVE

RETAINER ASSY, clutch rls brg

1шт.

ref #19 (P/N See also ref #4 pg. 7 for 154 & 185

1шт.

20

80722

LUBE NIPPLE,3/16" x .55" lg, Drive

FITTING, lubrication

1шт.

21

SHAFT, brake, refer to brake listing, group 4

1шт.

405988R1

FACING

PACKAGE, clutch facing, consists of (2) facing clutch, (6) rivet, clutch facing HS490

1шт.

Выбрано товаров: 34