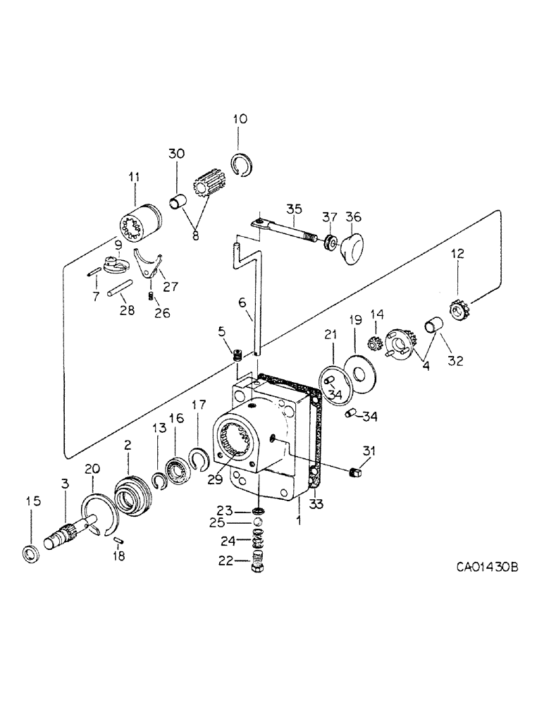
Запчасти Case IH 185 (07-19) - DRIVE TRAIN, REDUCTION DRIVE GEAR BOX (04) - Drive Train

Схема запчастей Case IH 185 - (07-19) - DRIVE TRAIN, REDUCTION DRIVE GEAR BOX (04) - Drive Train
2
36
26
13
12
21
34
30
25
19
10
29
20
23
32
27
18
3
37
28
16
33
4
5
22
34
9
35
14
24
8
17
11
1
15
7
6
31
FIT
1:1
100%

Артикул

Название

Примечание

Количество

530421R92

BOX

GEAR BOX ASSY, reduction drive, cub 154 & 185 lo-boy tractors, consists of ref. nos. 1 thru 32

1шт.

64798C91

GEAR BOX ASSY, reduction drive, 184 tractor, consists of ref. nos. 1 thru 32

1шт.

20100R1

BOLT,Hex, 1/2" - 13 x 2 3/4", Gr 8

1/2 x 2-3/4 type 8

2шт.

1

530427R2

HOUSING ASSY, main gear

1шт.

2

530428R1

RETAINER

brg

1шт.

3

55369C2

SHAFT

sun gear drive, for gear box, 530421R92, replaces shaft, 530429R1 by also ordering gear, 55370C3 & key, 124543

1шт.

3

117582C1

SHAFT

sun gear drive, for gear box, 64798C91

1шт.

124543

WOODRUFF KEY,#3, 1/8" x 1/2", HT

3шт.

4

532462R2

PLATE

ASSY, low gear drive

1шт.

5

110891H

BREATHER,1/8"-27 NPT, Short, w/washer

VENT, air 1/8-27 PTF, replaces plug 444703

1шт.

444030

REDUCER,1/2"-14 NPTF x 1/8"-27 Fem NPTF

pipe 1/2-14 x 1/8-27 hex

1шт.

6

530441R1

LEVER, control

1шт.

7

19313R1

PIN,5/32" x 7/8", Coiled

1шт.

8

532461R1

GEAR

DRIVE W/BUSHING ASSY, gear shaft spline

1шт.

617941R1

PIN,5/16" x 2", Coiled

1шт.

9

530440R1

PLATE

gear shift

1шт.

10

202306R1

SNAP RING,#162, Ext

Ring, Snap, , drive gear #162, Ext

1шт.

11

530431R1

COUPLING

SLEEVE spindle drive

1шт.

12

55370C3

GEAR

direct drive spline, replaces gear, 530434R1 by also ordering shaft, 55369C2 and key, 124543

1шт.

13

675683R1

SNAP RING,#93, Ext

Ring, Snap, #93, Ext

1шт.

14

530435R2

GEAR

planet

3шт.

15

893788C91

OIL SEAL

oil

1шт.

16

ST225B

BALL BEARING,25 mm ID x 52 mm OD x 13 mm

BEARING, ball

1шт.

17

456736R1

SNAP RING,2.062", Int, #206

Ring, Snap, 2.062", Int, #206

1шт.

18

19689R1

PIN,1/4" x 1 1/4", Coiled

1шт.

19

530437R1

WASHER

PLATE, wear

1шт.

20

24655R1

RING

internal retaining

1шт.

21

22409R1

O-RING,0.139" Thk x 2.609" ID, -231, Cl 5, 75 Duro

2-5/8 x 2-7/8 x 1/8

1шт.

22

180116

BOLT,Hex, 3/8" - 16 x 1/2", Gr 5

SCREW, 3/8-16 x 1/2 znd hex-hd cap

1шт.

23

120382

LOCK WASHER,Helical Spring, 3/8"

WASHER, LOCK, 3/8"

1шт.

24

474032R1

SPRING

retainer ball

1шт.

25

17009R1

BALL

9/32 cr-stl

1шт.

26

139329

SET SCREW,Hex Soc, 1/4"-20 x 5/8"

SCREW, 1/4-20 x 5/8 hex-soc-hd cone-pt set

1шт.

27

530439R1

FORK

gear shift

1шт.

28

530438R1

PIN

SPINDLE, gear shift fork

1шт.

29

57313C2

GEAR

internal

1шт.

30

64791C1

BUSHING

spline drive

1шт.

31

445686

PLUG

3/8-18 auto sq-hd pipe

1шт.

32

64793C1

BUSHING

drive plate

1шт.

33

376216R1

GASKET

reduction gear box housing

1шт.

34

350799R1

PIN

7/16 x 7/8 dowel, on trans case & gear box assy

2шт.

35

530426R1

HANDLE, creeper drive control

1шт.

36

404931R1

KNOB

control handle

1шт.

37

532079R1

BUSHING, nylon snap

1шт.

Выбрано товаров: 44