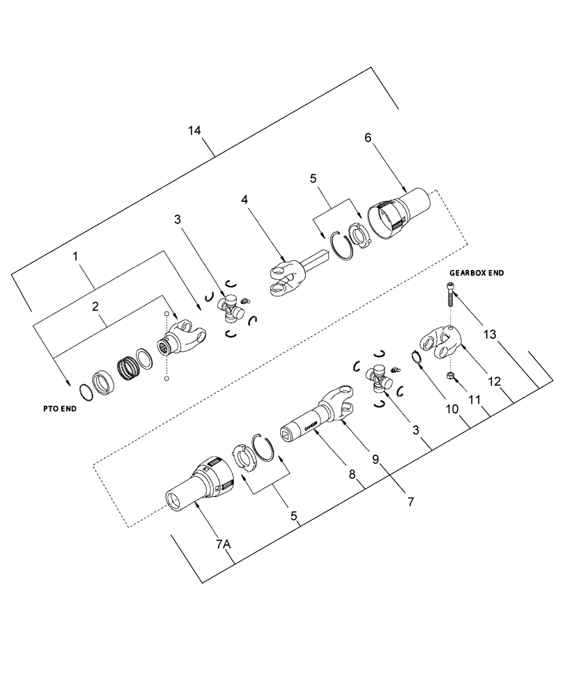
Запчасти Case IH 715672026 (004) - DRIVELINE COMPONENTS

Схема запчастей Case IH 715672026 - (004) - DRIVELINE COMPONENTS
5
3
14
6
7
7a
3
1
13
8
9
11
2
10
12
5
4
FIT
1:1
100%

Артикул

Название

Примечание

Количество

1

AUB147354

YOKE

Spring Lock

1шт.

2

AUB102499

YOKE

Repair Kit

1шт.

3

AUB121868

BEARING ASSY

Cross & Bearing

2шт.

4

AUB102501

YOKE

Shaft Half

1шт.

4

AUB182298

PTO SHAFT

Shaft Half

1шт.

On & Above SN DBC0114602

1шт.

5

AUB161435

BEARING ASSY

Nylon, Repair Kit

2шт.

6

AUB102502

COVER

Shield, Outer

1шт.

6

AUB182299

OUTER SHIELD

Shield, Outer

1шт.

On & Above SN DBC0114602

1шт.

7

AUB102497

COUPLING JOINT

Telescoping Joint Assy w/Guard Includes: Ref. 3,5,7A-13

1шт.

7a

AUB102503

COVER

Shield, Inner

1шт.

8

AUB150299

DECAL

Danger

1шт.

9

AUB102504

YOKE

Shaft Half

1шт.

10

AUB403490

SNAP RING

3/4

1шт.

11

AUB964031

LOCK NUT

1/4-20

1шт.

Not Included in Driveline

1шт.

12

AUB102505

YOKE

1шт.

13

AUB968005

SCREW

1/4-20 X 1 1/2

1шт.

Not Included in Driveline

1шт.

14

AUB102470

DRIVE

Driveline Includes: Ref. 1-10,12

1шт.

14

AUB182291

PTO

Driveline Includes: Ref. 1-10,12

1шт.

On & Above SN DBC0114602

1шт.

Выбрано товаров: 23