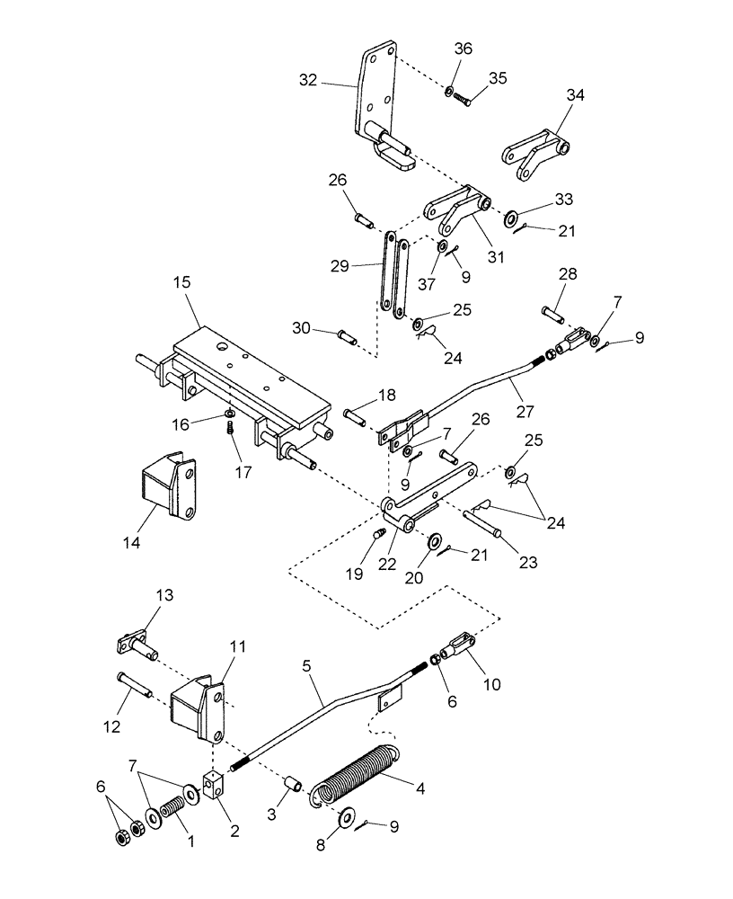
Запчасти Case IH 716417046 (008) - LIFT COMPONENTS - MWX54S, MWX60S, MW60S (CLASS 2) & MWX60R

Схема запчастей Case IH 716417046 - (008) - LIFT COMPONENTS - MWX54S, MWX60S, MW60S (CLASS 2) & MWX60R
17
13
7
10
35
36
16
9
32
1
24
7
23
26
6
14
9
3
11
19
29
8
26
34
9
9
15
6
37
30
22
2
20
18
33
27
21
5
12
31
28
24
25
7
4
25
21
FIT
1:1
100%

Артикул

Название

Примечание

Количество

1

CSE162251

SPRING

Compression, Cushion Lift

2шт.

2

CSE162268

BLOCK

Lift, Cushion Lift

2шт.

3

CSE162286

TUBE

7/8x1-1/4", Cushion Lift

2шт.

4

AUB250083

SPRING

Tension, Cushion Lift

2шт.

5

AUB162928

ROD

Lift, Rear, R.H., Cushion Lift

1шт.

5

AUB162937

ROD

Lift, Rear, L.H., Cushion Lift

1шт.

6

280431

NUT,1/2"-13, G5

8шт.

7

AUB964505

WASHER

SAE, 1/2"

8шт.

8

AUB960705

WASHER

5/8"

2шт.

9

AUB962019

COTTER PIN

Pin, Cotter, 1/2-13

10шт.

10

AUB161897

CLEVIS

1/2"-13

4шт.

11

CSE162720

BRACKET

Lift, Rear, L.H.

1шт.

12

270135

CLEVIS PIN

Pin, Clevis, 5/8" x 3-1/2"

2шт.

13

AUB164232

PIN

3-Point Arm

2шт.

14

CSE162721

BRACKET

Rear Lift, R.H.

1шт.

15

CSE162900

FRAME

Mid-Lift

1шт.

16

412123

LOCK WASHER,13.1mm ID x 21.1mm OD x 2.55mm Thk

WASHER, LOCK, M12 x 21 x 2.6 Thk

10шт.

17

9706687

BOLT,M12 x 1.75 x 30mm, Cl 8.8

M12 x 30, Flange Bolt

4шт.

17

AUB961328

BOLT

M12 x 1.75 x 30, Serrated Flange Bolt

4шт.

18

AUB110340

CLEVIS PIN

Pin, Clevis, 1/2 x 2

10шт.

19

219-87

LUBE NIPPLE,1/4" - 28 NPTF

NIPPLE, LUBE, 1/4"-28 x .56" lg, Self-Tap

4шт.

20

PL

PROCURE LOCALLY

Washer, Flat, 1" SAE

2шт.

21

80754

COTTER PIN,3/16" OD x 1-1/2" OAL

PIN, SPLIT (COTTER), 3/16" x 1 1/2"

4шт.

22

CSE162915

ARM

Lift, Rear

2шт.

23

AUB967210

ROLL PIN

Pin, Clevis, 1/2x4"

2шт.

24

86518307

HAIR PIN COTTER

Clip, Hairpin, 1/8x2-9/16"

2шт.

25

AUB964500

WASHER

Flat, 3/4

4шт.

26

AUB162737

PIN

Clevis, 3/4x2"

2шт.

27

CSE162945

ROD

Lift, Front

2шт.

28

26282

PIN

Clevis, 1/2" x 1-1/2"

4шт.

29

CSE164237

LIFT LINK

Link, Lift, Front

2шт.

30

AUB967197

ROLL PIN

Pin, Clevis, 5/8x1-1/2"

4шт.

31

CSE164208

LIFT ARM

Front, RH, 60" MWX60S, MW60S, MWX60R, MW60R

1шт.

31

CSE164207

LIFT ARM

Front, LH, 60" MWX60S, MW60S, MWX60R, MW60R

1шт.

32

CSE164211

PLATE

Hanger, Front, RH, MWX54S, MWX60R, MW60R, MWX60S, MW60S

1шт.

32

CSE164212

PLATE

Hanger, Front, LH, MWX54S, MWX60R, MX60R, MWX60S, MW60S

1шт.

33

87381

WASHER,0.81" ID x 1.47" OD x 0.13" Thk

4шт.

34

CSE164245

LIFT ARM

Arm, Lift, Front, RH, 54", MWX54S

1шт.

34

CSE164240

LIFT ARM

Arm, Lift, Front, LH, 54", MWX54S

1шт.

35

AUB961379

BOLT

M16-2.0 x 40

6шт.

36

AUB961607

WASHER

M16

6шт.

37

AUB967087

WASHER

3/4 SAE

6шт.

Выбрано товаров: 42