Запчасти Case IH 717721366 (002) - GEARBOX

Схема запчастей Case IH 717721366 - (002) - GEARBOX
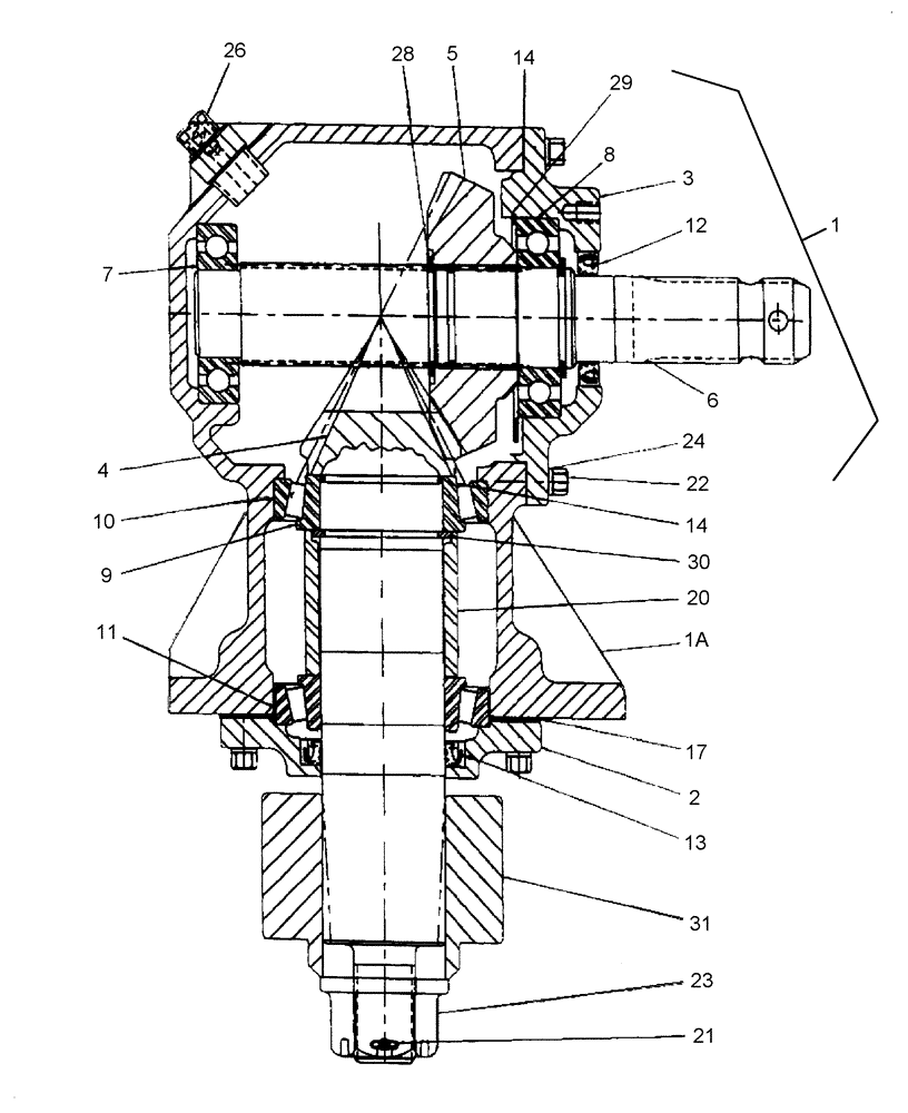
6
24
28
23
8
3
29
22
14
30
21
13
31
14
4
9
2
1
12
26
5
7
1a
10
17
20
11
FIT
1:1
100%

Артикул

Название

Примечание

Количество

1

CSE401D0173D03

GEARBOX

RC605

1шт.

1

CSE401D0171D02

GEARBOX

RC725, RC840

1шт.

1a

MAG501D0997

HOUSING

1шт.

2

MAG501D0998

CAP

Output

1шт.

3

MAG501D0999

CAP

Input

1шт.

4

MAG501D1005

GEAR

Output, 15T, RC605

1шт.

4

MAG501D1001

GEAR

Output, 15T, RC725, RC840

1шт.

5

MAG501D1006

SHAFT

Input Gear, 29T, RC605

1шт.

5

MAG501D1000

SHAFT

Input Gear, 22T, RC725, RC840

1шт.

6

MAG501D1002

SHAFT

Input, 1 3/8"

1шт.

7

MAG501D0011

ROLLER BEARING

1шт.

8

MAG501D0025

ROLLER BEARING

1шт.

9

MAG501D0235

BEARING CONE

2шт.

10

MAG501D0274

BEARING CUP

1шт.

11

MAG501D0277

BEARING CUP

1шт.

12

MAG501D0020

SEAL

Input

1шт.

13

MAG501D0232

SEAL

Output

1шт.

14

MAG501D0016

GASKET

1шт.

17

MAG501D1003

GASKET

1шт.

20

MAG501D1004

SPACER

1шт.

21

MAG900D8951

COTTER PIN

1шт.

22

MAG501D0018

SCREW

3/8"x1"

10шт.

23

MAG501D0266

FLANGE NUT

1"

1шт.

24

MAG412D0071

LOCK WASHER

10шт.

25

MAG501D0254

PLUG

1/8"

1шт.

26

MAG501D0757

PLUG

Pressure Reset

1шт.

28

MAG501D0021

SNAP RING

2шт.

29

MAG501D0015

SNAP RING

1шт.

30

MAG501D0245

RING

1шт.

31

MAG401D5160

HUB

1шт.

Выбрано товаров: 30