Запчасти Case IH 717721366 (002) - GEARBOX (00) - COMPLETE MACHINE

Схема запчастей Case IH 717721366 - (002) - GEARBOX (00) - COMPLETE MACHINE
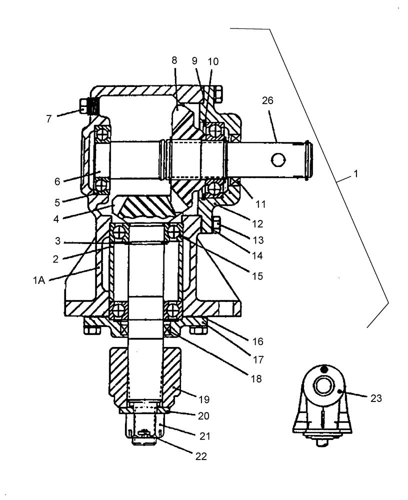
17
14
12
26
23
10
7
9
15
5
3
6
20
1a
11
1
16
21
8
19
2
22
4
18
13
FIT
1:1
100%

Артикул

Название

Примечание

Количество

1

MAG401D0007D01

GEARBOX

Complete Includes: Ref. 1A-24, RC480, RC600

1шт.

1

MAG401D0007

GEARBOX

Complete Includes: Ref. 1A-24, RC720

1шт.

1a

MAG501D0023

HOUSING

1шт.

2

MAG501D0024

SPACER

1шт.

3

MAG501D0021

SNAP RING

1шт.

4

MAG900D1493

SHAFT

Output, 12 Spline, RC480, RC600

1шт.

4

MAG501D0022

SHAFT

Output, 12 Spline, RC720

1шт.

5

MAG501D0011

ROLLER BEARING

3шт.

6

MAG501D0012

SHAFT

Input

1шт.

7

MAG501D0757

PLUG

Pressure Reflief

1шт.

8

MAG900D1489

GEAR

Input, RC480

1шт.

8

MAG501D0014

GEAR

Input, RC600, RC720

1шт.

9

MAG501D0016

GASKET

Input, RC480, RC720

1шт.

9

MAG900D1489

GEAR

Input, RC600

1шт.

10

MAG501D0015

SNAP RING

1шт.

11

MAG501D0020

SEAL

1шт.

12

MAG501D0019

CAP

Input

1шт.

13

MAG501D0018

SCREW

Cap

10шт.

14

MAG501D0017

LOCK WASHER

10шт.

15

MAG501D0025

ROLLER BEARING

3шт.

16

MAG501D0026

GASKET

1шт.

17

MAG501D0028

CAP

Output

1шт.

18

MAG322D1267

SEAL

1шт.

19

MAG401D7559

HUB

1шт.

20

MAG401D7471

WASHER

Flat

1шт.

21

MAG401D7263

NUT

Hex, 1"

1шт.

22

MAG900D8951

COTTER PIN

1шт.

23

MAG501D0254

PLUG

1шт.

24

MAG412D7978

RING

Retaining

1шт.

Выбрано товаров: 29