Запчасти Case IH 717721406 (050) - BLADE CARRIER & BLADES

Схема запчастей Case IH 717721406 - (050) - BLADE CARRIER & BLADES
3
6
5
5
2
1
3
2
4
4
FIT
1:1
100%

Артикул

Название

Примечание

Количество

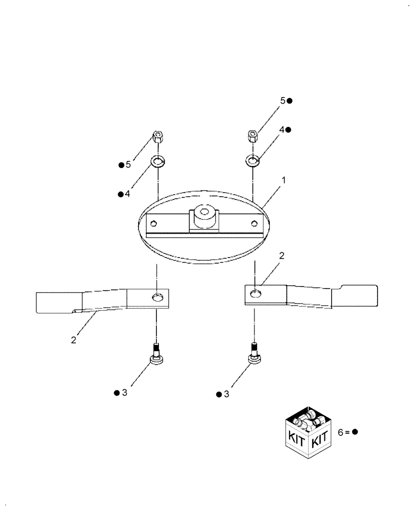
1

MAG101D1003

CARRIER

Blade, RC727

1шт.

1

MAG401D5470

CARRIER

Blade, RC845, RC84HD

1шт.

2

MAG401D0067

BLADE

2шт.

3

MAG412D0057D01

BOLT

Blade

2шт.

4

MAG900D8771

LOCK WASHER

2шт.

5

MAG900D8614D01

NUT

Jam

2шт.

6

MAG412D8043D01

KIT

Bolt Includes: Ref. 3-5

2шт.

Выбрано товаров: 7