Запчасти Case IH 717721426 (011) - GEARBOX

Схема запчастей Case IH 717721426 - (011) - GEARBOX
15
27
13
25
14
23
22
4
28
9
31
17
5
33
6
1
30
19
24
8
18
24
29
2
10
16
3
12
23
20
7
21
28
32
21
11
1a
FIT
1:1
100%

Артикул

Название

Примечание

Количество

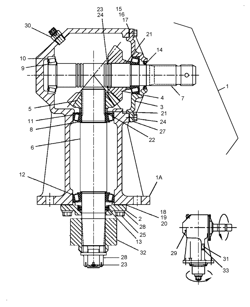
1

MAG401D0228

GEARBOX

1шт.

1a

MAG501D0268D03

HOUSING

1шт.

2

MAG501D0233

CAP

Output

1шт.

3

MAG501D0915

CAP

Input

1шт.

4

MAG501D0608

GEAR

17T

1шт.

5

MAG501D0607

GEAR

14T

1шт.

6

MAG501D0275

SHAFT

Output

1шт.

7

MAG501D0727D03

SHAFT Input, 1 3/8"

1шт.

8

MAG501D0235

BEARING CONE

2шт.

9

MAG501D0240

BEARING CONE

2шт.

10

MAG501D0239

BEARING CUP

2шт.

11

MAG501D0274

BEARING CUP

1шт.

12

MAG501D0277

BEARING CUP

1шт.

13

MAG501D0232

SEAL

Output

1шт.

14

MAG322D1213

SEAL

Input

1шт.

15

MAG501D0243

GASKET

1шт.

18

MAG501D0249

GASKET

1шт.

21

MAG501D0602

SPACER

Gear

1шт.

22

MAG501D0758

SHIM

1шт.

23

MAG900D8951

COTTER PIN

1шт.

24

MAG501D0253

SCREW

Cap

8шт.

25

MAG501D0251

SCREW

Cap

4шт.

26

MAG501D0266

FLANGE NUT

1шт.

27

MAG501D0252

LOCK WASHER

3/8"

8шт.

28

MAG412D0072

LOCK WASHER

1/2"

4шт.

30

MAG501D0254

PLUG

1/8"

1шт.

31

MAG501D0757

PLUG

Relief, 1/2"

1шт.

33

MAG401D5160

HUB

1шт.

34

MAG501D0245

RING

Retaining

1шт.

Выбрано товаров: 29