Запчасти Case IH BS163 (201) - WORM GEARBOX

Схема запчастей Case IH BS163 - (201) - WORM GEARBOX
12
23
7
7
16
16
9
9
17
14
2
15
5
3
7
7
20
22
9
5
16
18
6
19
9
3
4
8
21
10
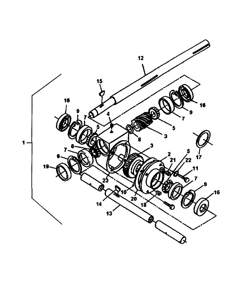
1
5
11
13
FIT
1:1
100%

Артикул

Название

Примечание

Количество

1

BER661885

GEARBOX

1шт.

BSX151

1шт.

1

BER661887

GEARBOX

1шт.

BSX163

1шт.

2

BER655935

COVER

1шт.

3

BER655662

GEAR SET

Bronze

1шт.

4

BER654927

BREATHER

1/8"

1шт.

5

BER654496

CONE

Inner

3шт.

6

BER654497

BEARING CONE

Inner

1шт.

7

BER654498

CUP

Outer

4шт.

8

BER654499

RING

Retaining, External

1шт.

9

BER654500

RING

Retaining, Internal

4шт.

10

BER654501

SCREW

Allen, 1/4" x 3/8"

1шт.

11

BER654502

SCREW

Cap, 3/8" x 7/8" GR5

4шт.

12

BER661884

SHAFT

Input

1шт.

13

BER654504

SHAFT

Output

1шт.

BSX151

1шт.

13

BER654505

SHAFT

Output

1шт.

BSX163

1шт.

14

BER654506

KEY

Woodruff

1шт.

15

BER655967

KEY

Woodruff

1шт.

16

BER654508

SEAL PROTECTION

3шт.

17

BER654513

SHIM

1шт.

18

BER654068

PLUG

Drain, 3/8" -18

1шт.

19

BER654512

CAP COVER

1шт.

20

BER654510

GASKET

1шт.

21

BER656090

PLUG

Oil Level, 1/8" -27

1шт.

22

PL

PROCURE LOCALLY

Washer, Lock 3/8"

4шт.

23

BER655934

HOUSING

1шт.

Выбрано товаров: 29