Запчасти Case IH BS163H (104.05) - GEARBOX - 715346006 (00) - COMPLETE MACHINE

Схема запчастей Case IH BS163H - (104.05) - GEARBOX - 715346006 (00) - COMPLETE MACHINE
3
7
16
9
5
7
3
7
17
1
12
9
11
14
21
4
13
16
16
15
23
19
9
8
18
6
20
10
7
22
9
2
5
5
FIT
1:1
100%

Артикул

Название

Примечание

Количество

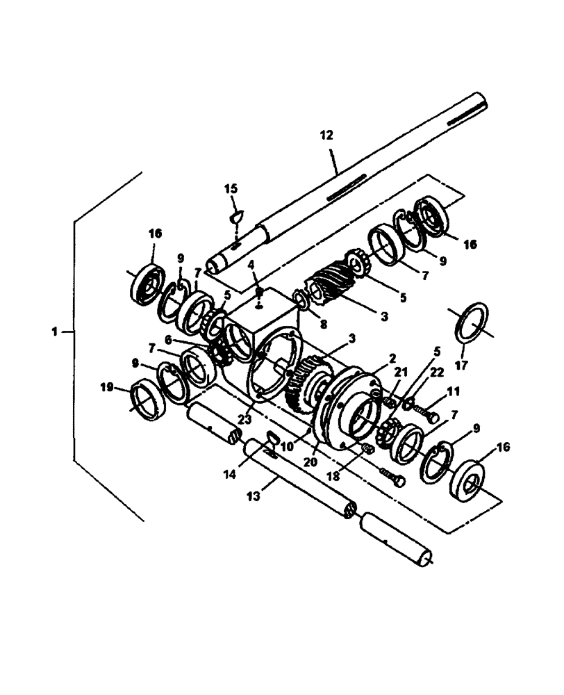
1

BER4500002

GEARBOX

1шт.

2

BER655935

COVER

1шт.

3

BER664086

GEAR SET

1шт.

4

BER654927

BREATHER

3шт.

5

273423

ROLLER BEARING,1.25" ID x 0.81"

Inner

1шт.

6

140868

ROLLER BEARING,1.0005" ID x 0.8125"

Inner

4шт.

7

28966

BEARING CUP,62.03mm OD x 14.29mm W

Outer

1шт.

8

197297

SNAP RING,#98, Ext

#98, Ext

4шт.

9

32324

SNAP RING,2.44", Int, #244

1шт.

10

301459S36

SCREW

Allen, 1/4" x 3/8"

4шт.

11

BER654502

SCREW

Cap, 3/8" x 7/8"

1шт.

12

BER664127

SHAFT

Input

1шт.

13

BER654505

SHAFT

Output

1шт.

14

BER654506

KEY

Woodruff

1шт.

15

280934

WOODRUFF KEY,#A, 1/4" x 7/8"

1шт.

16

BER654508

SEAL PROTECTION

3шт.

17

BER654513

SHIM

1шт.

18

BER654068

PLUG

3/8" - 18

1шт.

19

BER654512

CAP COVER

1шт.

21

BER656090

PLUG

Oil Level, 1/8" -27

1шт.

22

PL

PROCURE LOCALLY

Washer, Lock, 3/8"

4шт.

23

BER655934

HOUSING

1шт.

Выбрано товаров: 22