Запчасти Case IH BS164R (105.02) - DRIVELINE BER4700159 - 64" ON & ASN YAWR00001

Схема запчастей Case IH BS164R - (105.02) - DRIVELINE BER4700159 - 64" ON & ASN YAWR00001
7
6
5
3
9
14
2
8
12
8
13
15
11
10
4
2
1
FIT
1:1
100%

Артикул

Название

Примечание

Количество

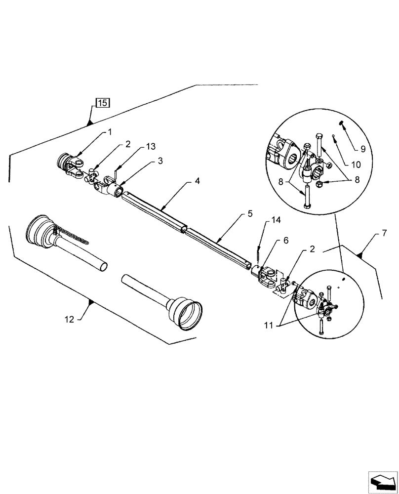
1

BER664543

YOKE

Quick Disconnect

1шт.

2

BER658094

KIT

SPARE PART Universal Joint

2шт.

3

BER664544

YOKE

Outer

1шт.

4

BER659107

SHAFT

Outer

1шт.

5

BER659105

SHAFT

Inner

1шт.

6

BER664545

YOKE

Inner

1шт.

7

BER665350

YOKE

w/ Key

1шт.

8

BER664547

SHIELD

1шт.

9

782914

SCREW

Bolt, 8mm x 1.25mm x 45mm, GR8

1шт.

0200098

1шт.

10

BER0900063

NUT

8mm x 1mm

1шт.

11

BER657763

DECAL

DANGER, Rotating Driveline

1шт.

English

1шт.

11

BER656781

DECAL

DANGER, Rotating Driveline

1шт.

French

1шт.

Выбрано товаров: 15