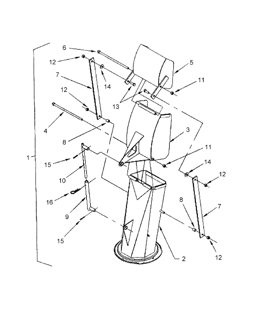
Запчасти Case IH BS172H (216) - THREE PART CHUTE - 715345006

Схема запчастей Case IH BS172H - (216) - THREE PART CHUTE - 715345006
10
6
5
16
8
11
7
14
2
8
1
12
14
3
7
15
11
9
12
15
4
13
12
12
FIT
1:1
100%

Артикул

Название

Примечание

Количество

1

BER666803

CHUTE

1шт.

2

BER666838

BASE

1шт.

3

BER666672

DEFLECTOR

Center

1шт.

4

BER666654

ROD

10 -27/32" lg

1шт.

5

BER666289

DEFLECTOR

Upper

1шт.

6

BER666454

ROD

11 -1/4" lg

1шт.

7

BER666334

BAR

2шт.

8

BER666335

SPACER

2шт.

9

BER665331

TUBE

Adjustment

1шт.

10

BER665332

ROD

Adjustment

1шт.

11

BER1100004

SPECIAL NUT

Stover, 7/16"

2шт.

12

PL

PROCURE LOCALLY

Nut, Lock, Nylon Insert, 7/16"

4шт.

13

PL

PROCURE LOCALLY

Bolt, Hex, 7/16" x 1 -1/4" GR5

2шт.

14

PL

PROCURE LOCALLY

Washer, Flat, 7/16"

2шт.

15

PL

PROCURE LOCALLY

Pin, Cotter, 3/16" x 1 -1/2"

2шт.

16

PL

PROCURE LOCALLY

Pin, Hair, 4mm x 80mm

1шт.

Выбрано товаров: 16