Запчасти Case IH BS172H (203) - CHUTE WITH DEFLECTOR - 715339006

Схема запчастей Case IH BS172H - (203) - CHUTE WITH DEFLECTOR - 715339006
15
6
1
16
11
14
7
4
18
13
2
17
9
10
12
13
3
5
8
FIT
1:1
100%

Артикул

Название

Примечание

Количество

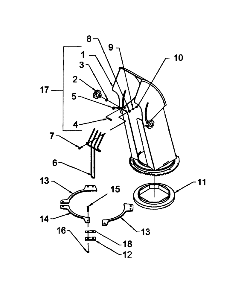
1

BER666443

CHUTE

1шт.

2

BER657309

KNOB

5/16"

2шт.

3

BER658467

WASHER

Nylon, 11/32"

2шт.

4

BER0300003

CARRIAGE BOLT

5/16" x 1" GR5

2шт.

5

BER658468

WASHER

Nylon, 7/16" Dia

2шт.

6

BER657308

GUARD

Hand, PTO

1шт.

7

PL

PROCURE LOCALLY

Bolt, Hex, 1/4" x 3/4" GR5

2шт.

8

PL

PROCURE LOCALLY

Washer, Flat, 5/16" dia

2шт.

9

PL

PROCURE LOCALLY

Washer, Lock, 1/4"

2шт.

10

PL

PROCURE LOCALLY

Nut, Hex, 1/4"

2шт.

11

BER659151

RING

Rotation Bushing

1шт.

12

BER665957

SHIM

4шт.

13

BER665399

RETAINING PLATE

Side

2шт.

14

BER666574

RETAINING PLATE

Middle

1шт.

15

PL

PROCURE LOCALLY

Bolt, Hex, 5/16" x 1 -1/4" GR5

8шт.

16

PL

PROCURE LOCALLY

Serrated Flange, 5/16"

8шт.

17

BER666828

CHUTE

Incl 1 - 5

1шт.

18

BER666191

SPACER

Retaining Plate

4шт.

Выбрано товаров: 18