Запчасти Case IH BSX150 (106.01) - WORM GEARBOX - ON & ABOVE SN RAD006063 - BER4500037

Схема запчастей Case IH BSX150 - (106.01) - WORM GEARBOX - ON & ABOVE SN RAD006063 - BER4500037
19
3
15
10
4
14
12
2
9
20
15
8
17
7
6
17
13
1
5
18
16
11
FIT
1:1
100%

Артикул

Название

Примечание

Количество

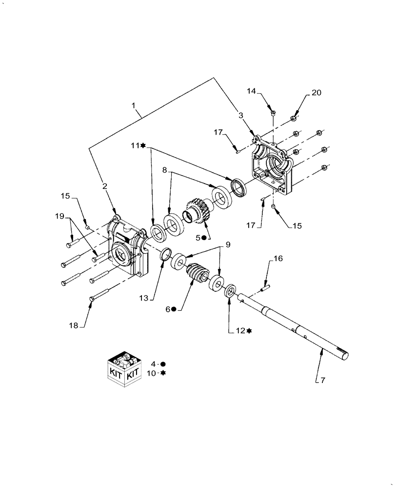
1

BER4500021

HOUSING

Includes: Ref. 2-3

1шт.

2

NSS

NOT SOLD SEPARAT

Left Casing

1шт.

3

NSS

NOT SOLD SEPARAT

Right Casing

1шт.

4

BER4500020

GEAR

Kit, Worm & Gear Includes: Ref. 5-6

1шт.

5

NSS

NOT SOLD SEPARAT

Gear

1шт.

6

NSS

NOT SOLD SEPARAT

Worm

1шт.

7

BER4500036

DRIVE SHAFT

1шт.

8

BER661147

BEARING

SPARE PART

2шт.

9

BER663234

BEARING

Bearing

2шт.

10

BER665775

SEAL KIT

Includes: Ref. 11-12

1шт.

11

NSS

NOT SOLD SEPARAT

Seal

2шт.

12

NSS

NOT SOLD SEPARAT

Seal

1шт.

13

BER661150

CAP COVER

1шт.

14

BER654927

BREATHER

1/8", 5 psi

1шт.

15

BER656090

PLUG

Plug, 1/8"

2шт.

16

BER663243

PIN

Spring, 5/16" x 1 -1/4"

1шт.

17

BER663245

PIN

Dowel, 3/16" x 1/2"

2шт.

18

NS

NOT SERVICED

Bolt, Hex, 5/16" x 2 -1/2"

4шт.

19

PL

PROCURE LOCALLY

Bolt, Hex, 5/16" x 1 -1/2"

2шт.

20

PL

PROCURE LOCALLY

Nut, Lock, Nylon Insert, 5/16"

6шт.

Выбрано товаров: 20