Запчасти Case IH BSX150 (107) - REDUCTION BOX

Схема запчастей Case IH BSX150 - (107) - REDUCTION BOX
4
13
19
5
5
17
6
10
1
3
8
14
7
11
18
6
7
16
12
3
7
17
4
15
2
6
FIT
1:1
100%

Артикул

Название

Примечание

Количество

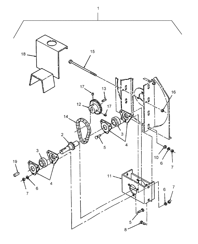
1

BER657419

HOUSING

Includes: Bearing & Sprocket

1шт.

2

BER657251

SHAFT

Drive, w/ Sprocket

1шт.

3

BER665494

BEARING ASSY

w/ Locking Screw

2шт.

4

BER656589

FLANGE

Bearing

4шт.

5

PL

PROCURE LOCALLY

Bolt, Carriage, 5/16" UNC x 5/8"

6шт.

6

492-11031

LOCK WASHER,5/16"

10шт.

7

9635082

NUT,5/16" - 18, Gr 5

10шт.

8

280327

CARRIAGE BOLT,Sq Nk, 5/16" - 18 x 3/4", Gr 5, Full Thd

4шт.

9

BER656178

CONNECTING LINK

1шт.

10

PL

PROCURE LOCALLY

Washer, Flat, 3/8"

1шт.

11

BER657355

HOUSING

Reduction

1шт.

12

BER656161

DRIVING SPROCKET

40B26

1шт.

13

87477

KEY

1/4" x 1/4" x 1"

2шт.

14

BER656177

CHAIN

#40 x 34 Links, Includes: Ref. 9

2шт.

15

PL

PROCURE LOCALLY

Bolt, Hex, 1/4" x 7 -1/2" GR5

2шт.

16

PL

PROCURE LOCALLY

Nut, Lock, Nylon

1шт.

17

PL

PROCURE LOCALLY

Setscrew, Allen, 5/16" x 1/2"

2шт.

18

BER657388

SHIELD

Driveline

1шт.

19

86628576

KEY

1/4" x 1/4" x 1 -1/4"

1шт.

Выбрано товаров: 19