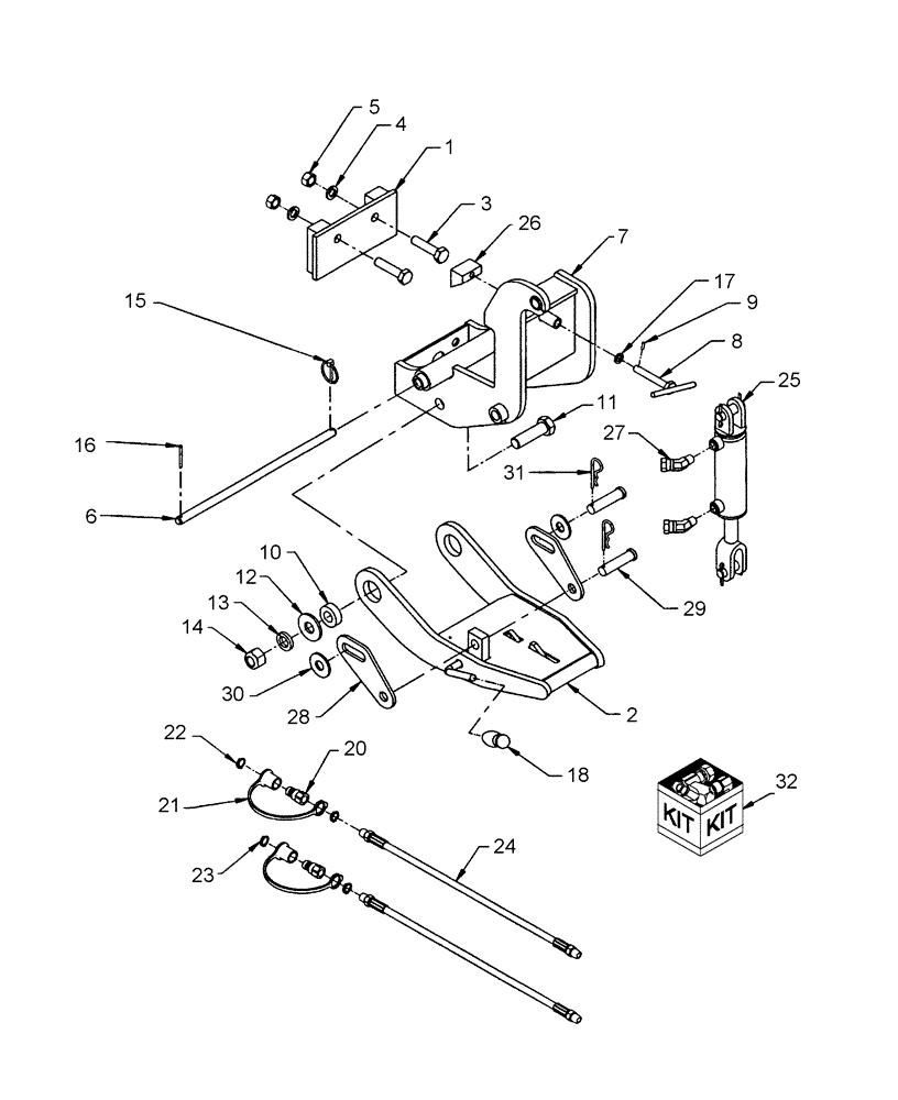
Запчасти Case IH BSX150 (101) - MALE QUICK HITCH & SUBFRAME - 715451056

Схема запчастей Case IH BSX150 - (101) - MALE QUICK HITCH & SUBFRAME - 715451056
28
2
7
8
9
22
27
13
23
29
21
17
4
24
1
26
32
5
20
31
10
16
12
25
15
11
3
30
14
18
6
FIT
1:1
100%

Артикул

Название

Примечание

Количество

1

BER666686

ADAPTER

Front

1шт.

2

BER666685

HITCH ASSY

1шт.

3

PL

PROCURE LOCALLY

Bolt, Hex, 5/8" x 2 -3/4" GR5

2шт.

4

PL

PROCURE LOCALLY

Washer, Lock, 5/8"

2шт.

5

PL

PROCURE LOCALLY

Nut, Lock, Nylon Insert, 5/8"

2шт.

6

BER4600014

PIN

5/8" x 16 -5/8"

1шт.

7

BER666684

FRAME ASSY

1шт.

8

BER665136

BOLT

"T", 1/2"

1шт.

9

BER665167

DOWEL

Nylon, 3/16" x 9/16"

1шт.

10

BER666980

WASHER

Pivot, 1 -3/4"

2шт.

11

PL

PROCURE LOCALLY

Bolt, Hex, 7/8' x 3" GR5

2шт.

12

PL

PROCURE LOCALLY

Washer, Flat, 15/16"

2шт.

13

PL

PROCURE LOCALLY

Washer, Lock, 7/8"

2шт.

14

PL

PROCURE LOCALLY

Nut, Lock, Insert, 7/8"

2шт.

15

BER1900004

LINCH PIN

3/16"

1шт.

16

BER1600031

SPRING

Spring, 3/16" x 2"

1шт.

17

PL

PROCURE LOCALLY

Washer, Lock, 1/2"

1шт.

18

BER656797

HANDLE GRIP

1/2' x 3"

1шт.

19

BER657632

CHAIN

Security

1шт.

20

BER658118

QUICK MALE COUPLING

3/8"

2шт.

21

BER658397

DUST CAP

3/8"

2шт.

22

BER658204

RING

Identification - Red

2шт.

23

BER658205

RING

Identification - Blue

2шт.

24

BER3700055

HOSE

1/4", 3/8" x 3/8"

2шт.

25

BER665433

HYDRAULIC CYLINDER,Double Acting, 127mm Stroke

2" x 5"

1шт.

26

BER666688

WASHER

1шт.

27

BER655269

ELBOW

45°, 3/8" x 3/8"

2шт.

28

BER666656

TRAVEL LIMITER

2шт.

29

BER665151

PIN

3/4" x 3"

2шт.

30

PL

PROCURE LOCALLY

Washer, Flat, 15/16"

2шт.

31

BER1800004

COTTER PIN

3mm x 65mm

2шт.

32

BER665434

SEAL KIT

1шт.

Выбрано товаров: 32