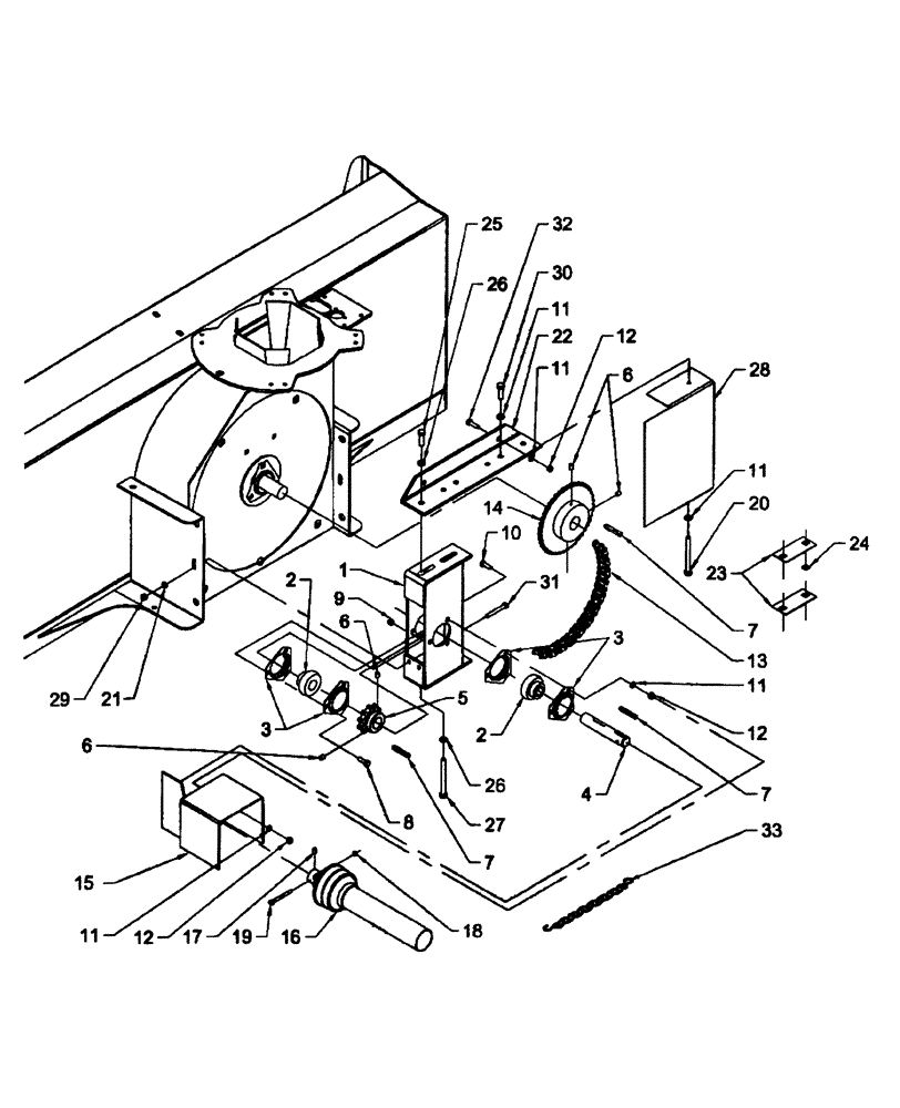
Запчасти Case IH BSX151 (204) - REDUCTION BOX - FRONT MOUNT

Схема запчастей Case IH BSX151 - (204) - REDUCTION BOX - FRONT MOUNT
18
33
27
15
7
11
25
4
29
9
3
7
17
10
23
26
11
28
14
13
1
5
30
12
7
6
32
11
11
21
8
2
11
20
2
22
31
24
26
16
3
12
6
19
6
12
FIT
1:1
100%

Артикул

Название

Примечание

Количество

1

BER659707

CASING

1шт.

2

BER665495

BEARING

w/ Locking Collar

2шт.

3

BER656589

FLANGE

Bearing

4шт.

4

BER658223

SHAFT

1шт.

5

BER657862

DRIVING SPROCKET

H50C13

1шт.

6

PL

PROCURE LOCALLY

Setscrew, Allen, 5/16" x 5/16"

4шт.

7

BER654643

KEY

1/4" x 1/4" x 1 -1/4"

3шт.

8

BER0300001

CARRIAGE BOLT

5/16" x 5/8" GR5

3шт.

9

BER1100002

NUT

Stover, 5/16"

3шт.

10

PL

PROCURE LOCALLY

Bolt, Carriage, 5/16" x 1 -1/4" GR5

3шт.

0300004

1шт.

11

PL

PROCURE LOCALLY

Washer, Lock, 5/16"

10шт.

12

PL

PROCURE LOCALLY

Nut, Hex, 5/16"

8шт.

13

BER658355

CHAIN

#50 L.L., 46 Links, Includes: Ref. 34

1шт.

14

BER658348

DRIVING SPROCKET

50B 38

1шт.

15

BER666575

GUARD

Driveline

1шт.

16

BER658505

PTO SHAFT

Female Half

1шт.

17

PL

PROCURE LOCALLY

Setscrew, Allen, 3/8" x 3/8"

1шт.

18

PL

PROCURE LOCALLY

Nut, Lock, Nylon Insert, 1/4"

1шт.

19

PL

PROCURE LOCALLY

Bolt, Hex, 1/4" x 2 -1/2" GR5

1шт.

20

PL

PROCURE LOCALLY

Bolt, Hex, 5/16" x 3 -1/2" GR5

1шт.

21

PL

PROCURE LOCALLY

Washer, Flat, 3/8"

1шт.

22

BER659702

SUPPORT

Reduction Box

1шт.

23

BER659706

ADJUSTING PLATE

2шт.

24

BER655580

NUT

Anchor

4шт.

25

PL

PROCURE LOCALLY

Bolt, Hex, 3/8" x 1 -1/4" GR5

2шт.

26

PL

PROCURE LOCALLY

Washer, Lock, 3/8"

4шт.

27

PL

PROCURE LOCALLY

Bolt, Hex, 3/8" x 3 -3/4" GR5

2шт.

28

BER659708

COVER

Reduction Box

1шт.

29

PL

PROCURE LOCALLY

Nut, Lock, Nylon Insert, 5/16"

1шт.

30

PL

PROCURE LOCALLY

Bolt, Hex, 5/16" x 1" GR5

1шт.

31

PL

PROCURE LOCALLY

Bolt, Hex, 5/16" x 3" GR5

1шт.

32

PL

PROCURE LOCALLY

Screw, Cap, Allen Flat Socket, 5/16" x 1"

2шт.

33

BER665954

CHAIN

Stopper, w/ "S" Hooks

1шт.

34

BER656128

CONNECTING LINK

#50 LL

1шт.

Выбрано товаров: 35