Запчасти Case IH BSX172H (203.01) - MANUAL CHUTE ROTATION - 715339006

Схема запчастей Case IH BSX172H - (203.01) - MANUAL CHUTE ROTATION - 715339006
3
6
4
11
14
23
18
10
19
10
11
21
15
19
2
16
13
21
7
20
8
10
22
17
11
7
9
1
20
5
FIT
1:1
100%

Артикул

Название

Примечание

Количество

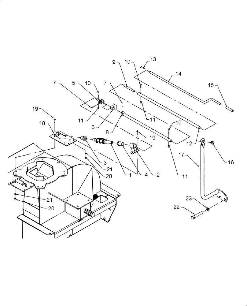
1

BER666726

WORM

Rotation

1шт.

2

BER665952

SUPPORT

Rotation Bracket

1шт.

3

BER657335

DRIVE BUSHING

Plastic, 1 -5/16"

1шт.

4

BER657336

BUSHING

Plastic, 1 -11/16"

1шт.

5

BER659595

YOKE

1шт.

6

BER658193

BLOCK

BLOCK, Universal

1шт.

7

PL

PROCURE LOCALLY

Pin, Spring, 1/4" x 1 -1/4"

2шт.

8

BER659594

TUBE

1шт.

9

BER659597

CONNECTING ROD

1шт.

10

BER0800009

BOLT

10-24 x 1"

3шт.

11

PL

PROCURE LOCALLY

Nut, Nylon, 10-24

3шт.

12

BER666916

TUBE

1шт.

13

BER663600

Snap Button

1шт.

14

BER666987

HANDLE

Rotation

1шт.

16

BER657390

GROMMET

1шт.

17

BER666851

SUPPORT

Handle

1шт.

18

BER666720

BRACKET

1шт.

19

PL

PROCURE LOCALLY

Bolt, Hex, 1/4" x 3/4" GR5

5шт.

20

PL

PROCURE LOCALLY

Nut, Hex, 1/4"

5шт.

21

PL

PROCURE LOCALLY

Washer, Lock, 1/4"

5шт.

22

PL

PROCURE LOCALLY

Bolt, Hex, M16 x 2 x 90mm, GR8

2шт.

0200088

1шт.

22

PL

PROCURE LOCALLY

Bolt, Hex, M16 x 2 x 40mm, GR8

2шт.

0200049

1шт.

23

PL

PROCURE LOCALLY

Washer, Lock, M16

2шт.

1200021

1шт.

24

BER666927

BASE PLATE

Handle Support

1шт.

25

BER662822

BUSHING

2шт.

Выбрано товаров: 28